EasyManua.ls Logo

FUTABA 6k - Page 75

FUTABA 6k
160 pages
Print Icon
To Next Page IconTo Next Page
To Next Page IconTo Next Page
To Previous Page IconTo Previous Page
To Previous Page IconTo Previous Page
Loading...
75
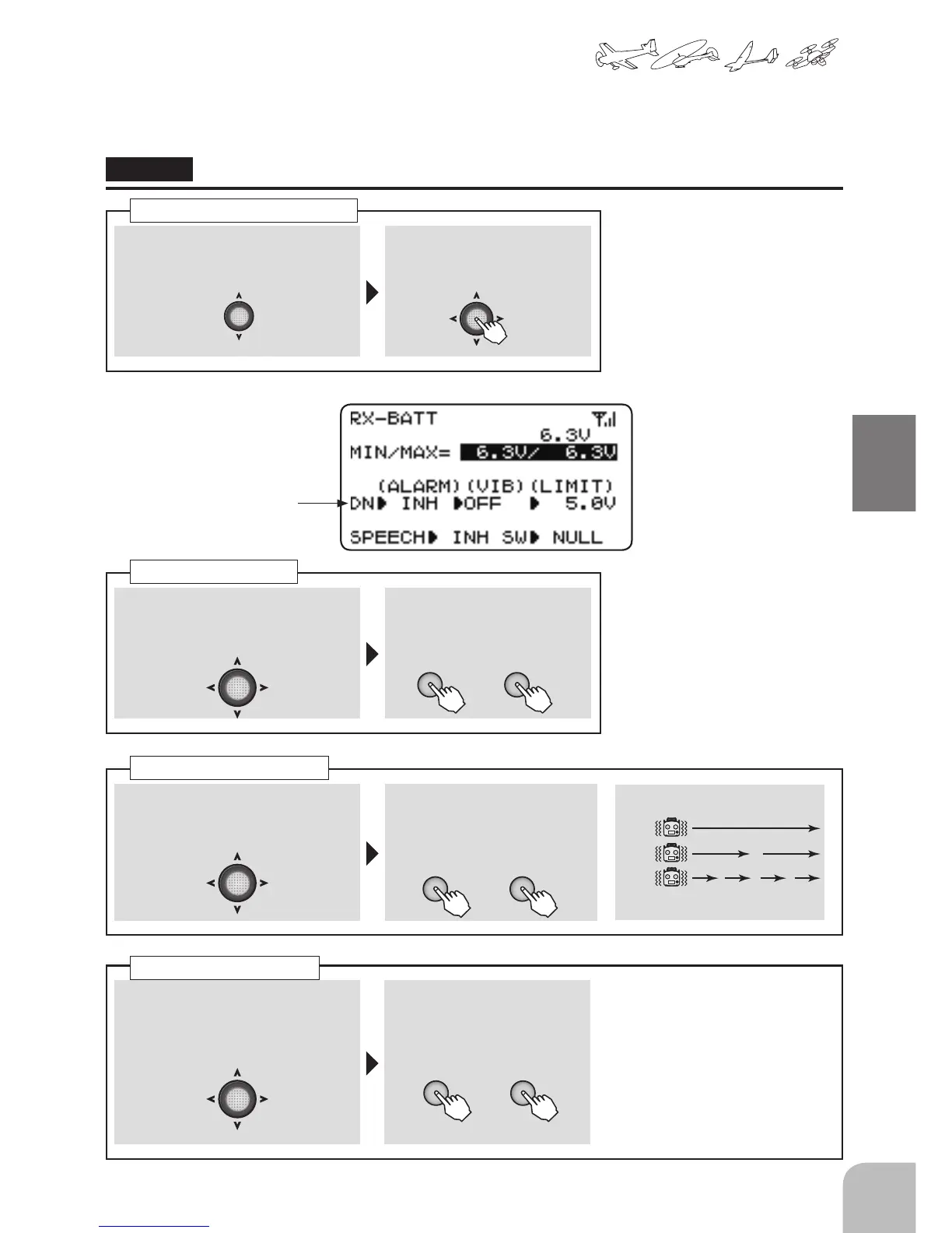
Common function
Use this setting to sound an alarm when the receiver battery voltage drops dangerously low. VIB
(vibration) that vibrates the transmitter at the same time can also be set.
Method
Select "RX-BATT" from the telemetry
screen with the Jog key.
Open the setting screen by
pressing the Jog key.
In the RX-BATT screen state, select
(ALARM) from the menu with the
Jog key.
Select the "ACT" by pressing
the + key or – key.
In the RX-BATT screen state, select
(LIMIT) 0.0V from the menu with
the Jog key.
Select the voltage by pressing
the + key or – key.
Selection range:
3.5V 8.4V
When you want to set 5.0V, press the
+ key and – key simultaneously.
In the RX-BATT screen state, select
(VIB) from the menu with the Jog
key.
Select the "TYP1 TYP3" by
pressing the + key or – key.
Calling the setting screen
Alarm set
Alarm voltage set
Vibration set
Setting receiver voltage alarm.
DN (down) shows than an
alarm is generated when
the voltage drops below
the set voltage.
or
or
TYP 1
TYP 2
TYP 3
"VIB" types
or

Table of Contents

Related product manuals