EasyManua.ls Logo

GRAPHTEC FC4200-50 - Selecting the Registration MARK Type; Selecting the Registration MARK TYPE

GRAPHTEC FC4200-50
107 pages
Print Icon
To Next Page IconTo Next Page
To Next Page IconTo Next Page
To Previous Page IconTo Previous Page
To Previous Page IconTo Previous Page
Loading...
6 21
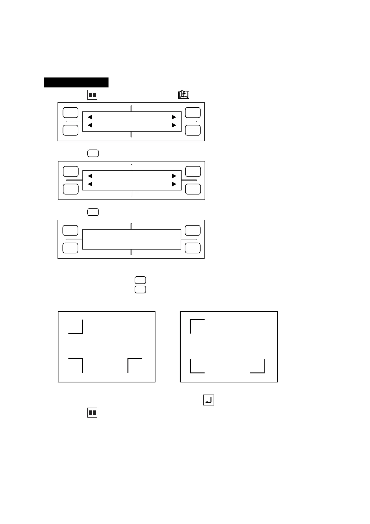
6.9 Selecting the Registration MARK TYPE
The MARK TYPE function is used to select the registration mark pattern of a medium that has been pre-
printed with registration marks or other markings.
Setting Procedure
(1) Press the PAUSE key, then press the NEXT PAGE key until the menu below appears.
(2) Press the
F1
(MARK) key to display the menu below.
(3) Press the
F2
(TYPE) key to display the menu below.
(4) The currently selected setting is indicated by the asterisk (
*
) symbol.
To plot pattern 1, press the
F2
(1) key.
To plot pattern 2, press the
F4
(2) key.
(5) When the displayed setting is satisfactory, press the ENTER key to register your setting.
(6) Press the PAUSE key to return the plotter to READY status.
Registration mark pattern 1 Registration mark pattern 2
FORCE
SPEED
OFFSET
QUALITY
F1 F3
F4
F2
MARK PEN U/D
CLEAR SELECT PEN
FORCE
SPEED
OFFSET
QUALITY
F1 F3
F4
F2
MODE MARK SIZE
TYPE EXPAND
FORCE
SPEED
OFFSET
QUALITY
F1 F3
F4
F2
MARK TYPE
*1 2

Table of Contents

Other manuals for GRAPHTEC FC4200-50

Related product manuals