EasyManua.ls Logo

Honeywell HC900 - Page 265

Honeywell HC900
274 pages
To Next Page IconTo Next Page
To Next Page IconTo Next Page
To Previous Page IconTo Previous Page
To Previous Page IconTo Previous Page
Loading...
Revision 6 HC900 Process & Safety Controller User and Installation Manual 251
21 April 2017
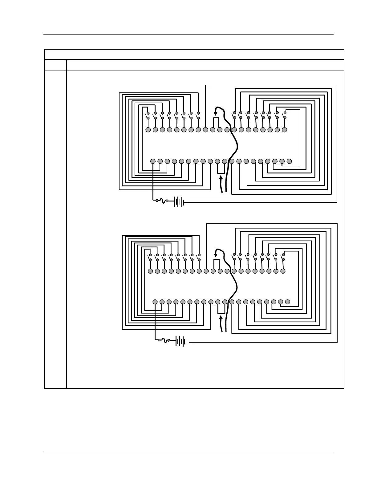
32 Point DC Digital Input
Step
Action
4
Connect field wiring.
1 2 3 4 5 6 7 8 9 10 11 12 13 14 15 16 17 18 19 20
21 22 23 24 25 26 27 28 29 30 31 32 33 34 35 36 37 38 39 40
IN1
IN2
IN3
IN4
IN5
IN6
IN7
IN8
IN9
IN10
IN11
IN12
IN13
IN14
IN15
IN16
IN11
IN12
IN13
IN14
IN15
IN16
DC Supply
IN1+
IN2+
IN9+
IN10+
IN5+
IN6+
DC
-
IN3+
IN4+
IN7+
IN8+
DC
-
IN11+
IN12+
IN13+
IN14+
IN15+
IN16+
SDC+
SDC+
DC+
SDC+
SDC+
SDC+
SDC+
SDC+
SDC+
SDC+
SDC+
SDC+
SDC+
SDC+
SDC+
SDC+
SDC+
SDC+
SDC+
SDC+
Install jumper wires
RTP A for
inputs 1 to 16
DC
-
DC
-
RTP B for inputs
17 to 32
1 2 3 4 5 6 7 8 9 10 11 12 13 14 15 16 17 18 19 20
21 22 23 24 25 26 27 28 29 30 31 32 33 34 35 36 37 38 39 40
IN17
IN18
IN19
IN20
IN21
IN22
IN23
IN24
IN25
IN26
IN27
IN28
IN29
IN30
IN31
IN32
IN27
IN28
IN29
IN30
IN31
IN32
DC Supply
IN17+
IN18+
IN25+
IN26+
IN21+
IN22+
DC
-
IN19+
IN20+
IN23+
IN24+
DC
-
IN27+
IN28+
IN29+
IN30+
IN31+
IN32+
SDC+
SDC+
DC+
SDC+
SDC+
SDC+
SDC+
SDC+
SDC+
SDC+
SDC+
SDC+
SDC+
SDC+
SDC+
SDC+
SDC+
SDC+
SDC+
SDC+
Install jumper wires
DC
-
DC
-
Note: SDC+ refers to switched positive side of the DC supply.
Note: Terminals 9 and 11 (DC-) are connected through the RTP cable. Same for terminals 10 and 12 (DC-).

Table of Contents

Other manuals for Honeywell HC900

Related product manuals