EasyManua.ls Logo

IEMCA BOSS 545 E - 4.4.7 Telescopic front nose - Installation

Default Icon
211 pages
Print Icon
To Next Page IconTo Next Page
To Next Page IconTo Next Page
To Previous Page IconTo Previous Page
To Previous Page IconTo Previous Page
Loading...
4 - HANDLING AND INSTALLATION BOSS 332/545/552 HD
EN
4 - Pag. 17 / 32
4.5 BAR FEEDER WITH AXIAL DISPLACEMENT DEVICE - INSTALLATION
Before carrying out the installation of the bar feeder, check lathe stability; make sure that it is
firmly fixed to the ground and with a perfectly horizontal spindle axis.
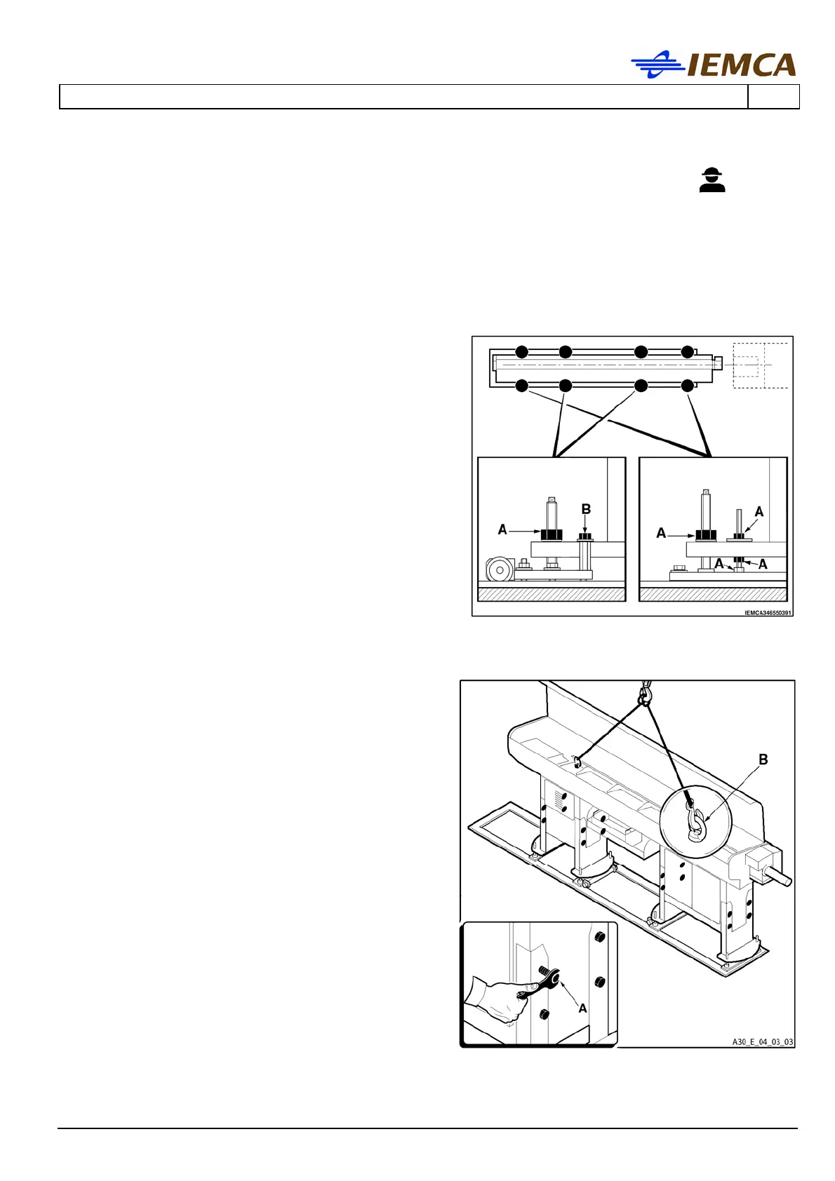
4.5.1 Preliminary operations
Roughly position the bar feeder behind the lathe.
Loosen nuts "A" and screws "B".
4.5.2 Height - Adjustment
The bar feeder is normally supplied with the
working axis height adjusted to the lathe height.
However, if an adjustment is needed, proceed as
follows:
Refer to “Working axis height” table, in the
"Technical data" section (Ch. 6) for the correct
holes for each screw.
tighten the lifting chains and remove the 16
screws "A".
lift the bar feeder according to the required
value "X".
tighten the "A" screws and remove the "B"
eyebolts.

Table of Contents

Related product manuals