EasyManua.ls Logo

IEMCA BOSS 545 E - 11.26 EJECTORS 381 P..011 - 381 P..021; 11.27 381 P..021 EJECTORS - Guide channels Ø33÷46 - Table

Default Icon
211 pages
Print Icon
To Next Page IconTo Next Page
To Next Page IconTo Next Page
To Previous Page IconTo Previous Page
To Previous Page IconTo Previous Page
Loading...
11 - COLLETS BOSS 332/545/552 HD
EN
11 - Pag. 33 / 34
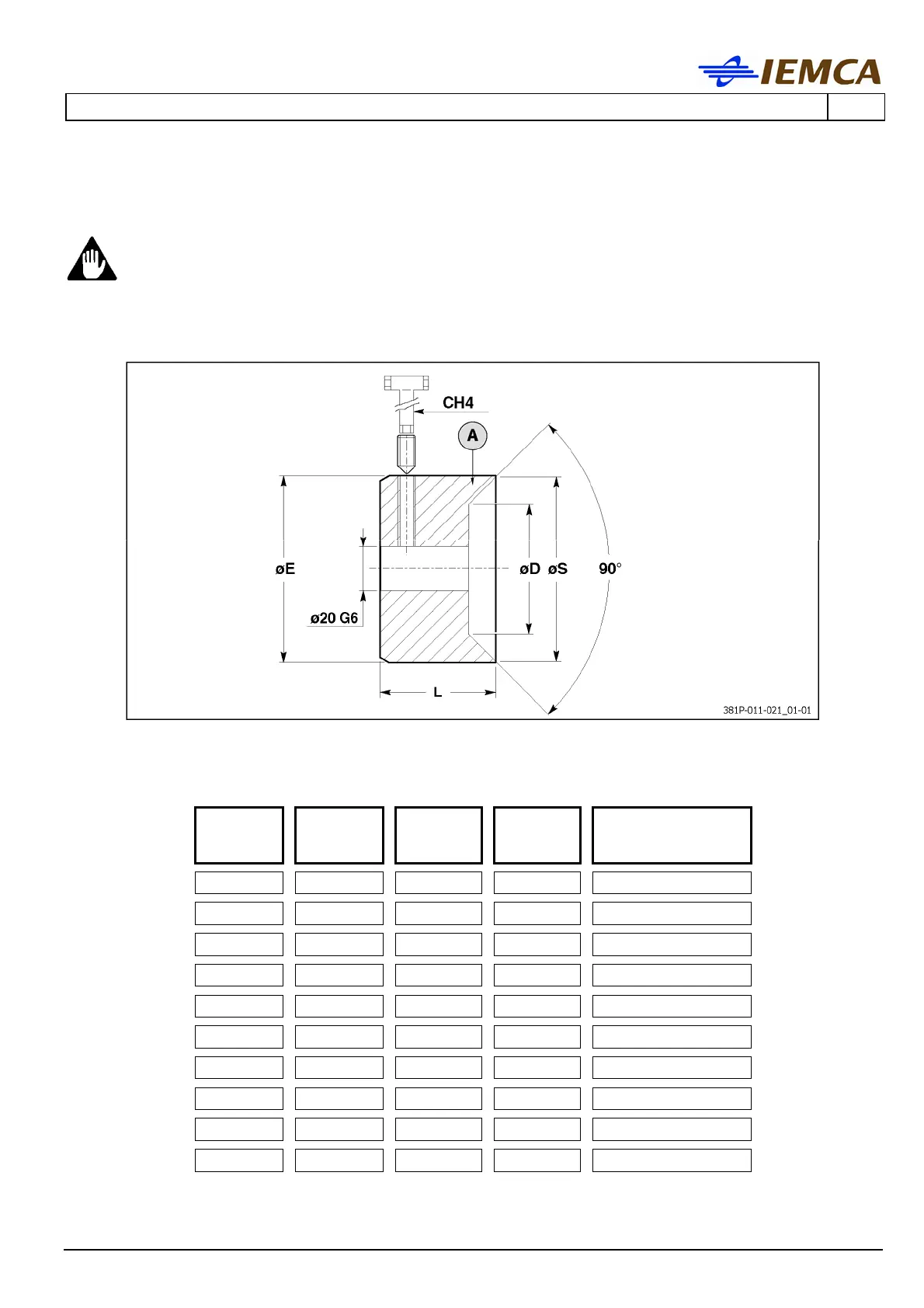
11.28 381P..011 EJECTORS - Guide channels Ø52÷86 - Table
WARNING – CAUTION:
the external diameter of the ejector must be at least 0.5 mm less than the
external diameter of the bar pusher.
CH4: T Allen wrench - DIN 911
A Ejector
øE
(mm)
L
(mm)
øS
(mm)
øD
(mm)
Code no.
51 52.5 50 25 381P51011
56 52.5 55 30 381P56011
60 52.5 59 34 381P60011
65 52.5 64 39 381P65011
68 52.5 67 42 381P68011
70 52.5 69 44 381P70011
72 52.5 71 46 381P72011
75 52.5 74 50 381P75011
80 52.5 79 55 381P80011
85 52.5 84 60 381P85011

Table of Contents

Related product manuals