Home
marposs
Measuring Instruments
P3UP
Page 53 (6.7.2 Mechanical Zero-Setting In-Process Heads with Latches)
marposs P3UP - 6.7.2 Mechanical Zero-Setting In-Process Heads with Latches
96 pages
Manual
Save Page as PDF
To Next Page
To Next Page
To Previous Page
To Previous Page
Loading...
Installati
on and Us
er Manua
l
53
6.7.2
Mechan
ical zero
-
setti
ng In
-
Pr
ocess
heads w
ith lat
ches
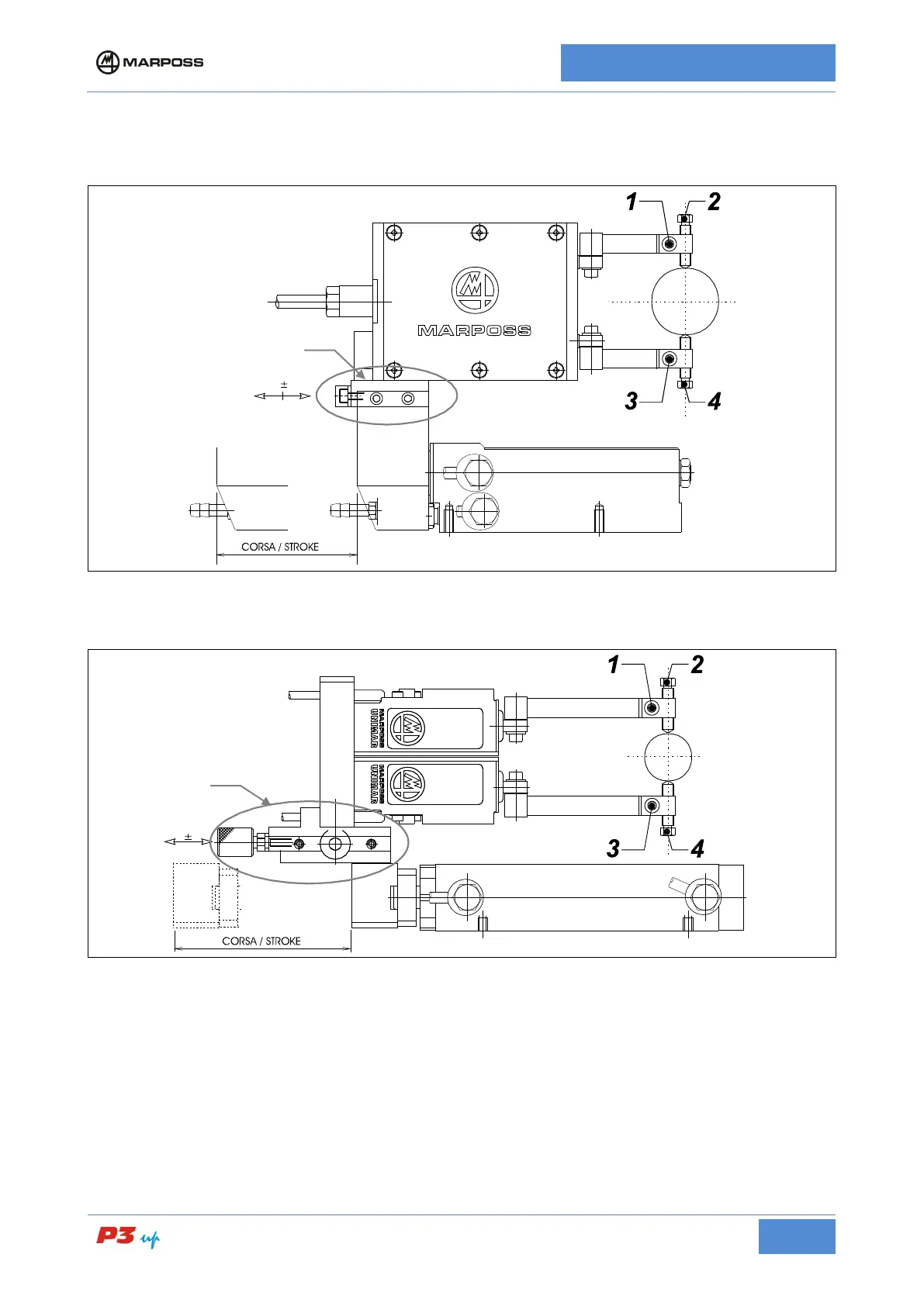
•
Measurement he
ad with two probes
Fig
ure
16
:
Meas
urement
head w
ith two
probes
•
Unimar m
easurem
ent hea
ds
Figure 17
:
UNIMAR
Measu
rement Hea
ds
Head Support
Unit
Head Support
Unit
52
54
Table of Contents
Main Page
Table of Contents
5
General Information
18
Environmental Conditions
18
Type of Environment
18
Explosion And/Or Fire
18
Environment Air Temperature
18
Humidity
18
Altitude
18
Contaminating Agents
19
Ionizing and Non-Ionizing Radiation
19
Lighting of a 'Normal' Environment
19
Removing the P3UP from Its Packaging
19
General Equipment Description
20
Product Versions
20
Description of Connectors
22
General Technical Specifications
23
The Process Memories
24
Application Examples
24
Installation Procedure
25
Securing the Unit to the Machine Tool
26
Connecting the Measurement Heads
29
I/O Connection to the Machine Logic
30
I/O Type a - Outputs with N.o. Contacts Relays
31
I/O Type Aa - Outputs with N.o. Contacts Relays
36
I/O Type B - 24V D.C. Opto-Isolated Type Machine I/O
39
I/O Type C - Outputs with Exchanged Relays
42
Connecting the Analogue Output
46
Power Supply and Earth Connections
48
Switching the Unit on
49
Measurement Head Mechanical Zero-Setting
50
Mechanical Zero-Setting In-Process Heads with Adjustment Guides
50
Mechanical Zero-Setting In-Process Heads with Latches
53
Fast Zero-Setting Unimar In-Process Heads with Locking Lever
55
Mechanical Zero-Setting In-Process Heads with Wemar Type Support
57
Cyclograms
59
Operating and Using the Device
60
Mechanical Zero-Setting the Instrument
62
P3Up in Measurement
62
Setting up the Control Points
62
Tip Mode
63
Selecting the Channels
63
Zero Adjust
64
Pulse Feedback
66
Description of the Memory Functions
67
Damping Memory
67
Programmable Damping Memory
67
Continuous Sampling Memory
68
Continuous Sampling Memory (Blocked by I/O Only)
68
Memory for Planes (with Internal Synchronisation)
69
Memory for Planes (with I/O Synchronisation)
69
Stock Removal Estimate Memory
70
Dynamic Signal Processing (DYN LED)
71
P3Up in Set-Up
72
Accessing the Programming Menu (Prog)
72
Setting up the Programming Parameters (P3Up In-Process)
74
Ip Delay
74
Controls
75
C-1
76
TIP T1 and TIP T2 (Optional)
77
Fbk Step
77
Fbk Rst
78
Adj Mode
78
Adj Incr
79
Adj Sped
79
Dly Rten
80
RET T1 and RET T2 (Optional)
81
A M Safe
82
Default
83
P3Up Version
83
Display
84
Setting up the Programming Parameters (P3Up with Memory)
85
Damping Memory
85
Continuous Sampling Memory
86
Memory for Planes
86
Stock Removal Estimate Memory
87
Closing the Program Menu
88
Programming Parameters Summary Table
89
Diagnostics and Maintenance
93
Alarms and Warnings
93
Routine Maintenance
95
Cleaning the Machine
95
Cleaning the Heads
95
Replacing the Knob
95
Extraordinary Maintenance
95
Related product manuals
marposs M1 Star MBG
58 pages
marposs TESTAR E4N
96 pages
marposs E9
25 pages
marposs OP32
40 pages