EasyManua.ls Logo

NAiS FP Series - Chapter 7 Communication Cassette

NAiS FP Series
199 pages
To Next Page IconTo Next Page
To Next Page IconTo Next Page
To Previous Page IconTo Previous Page
To Previous Page IconTo Previous Page
Loading...
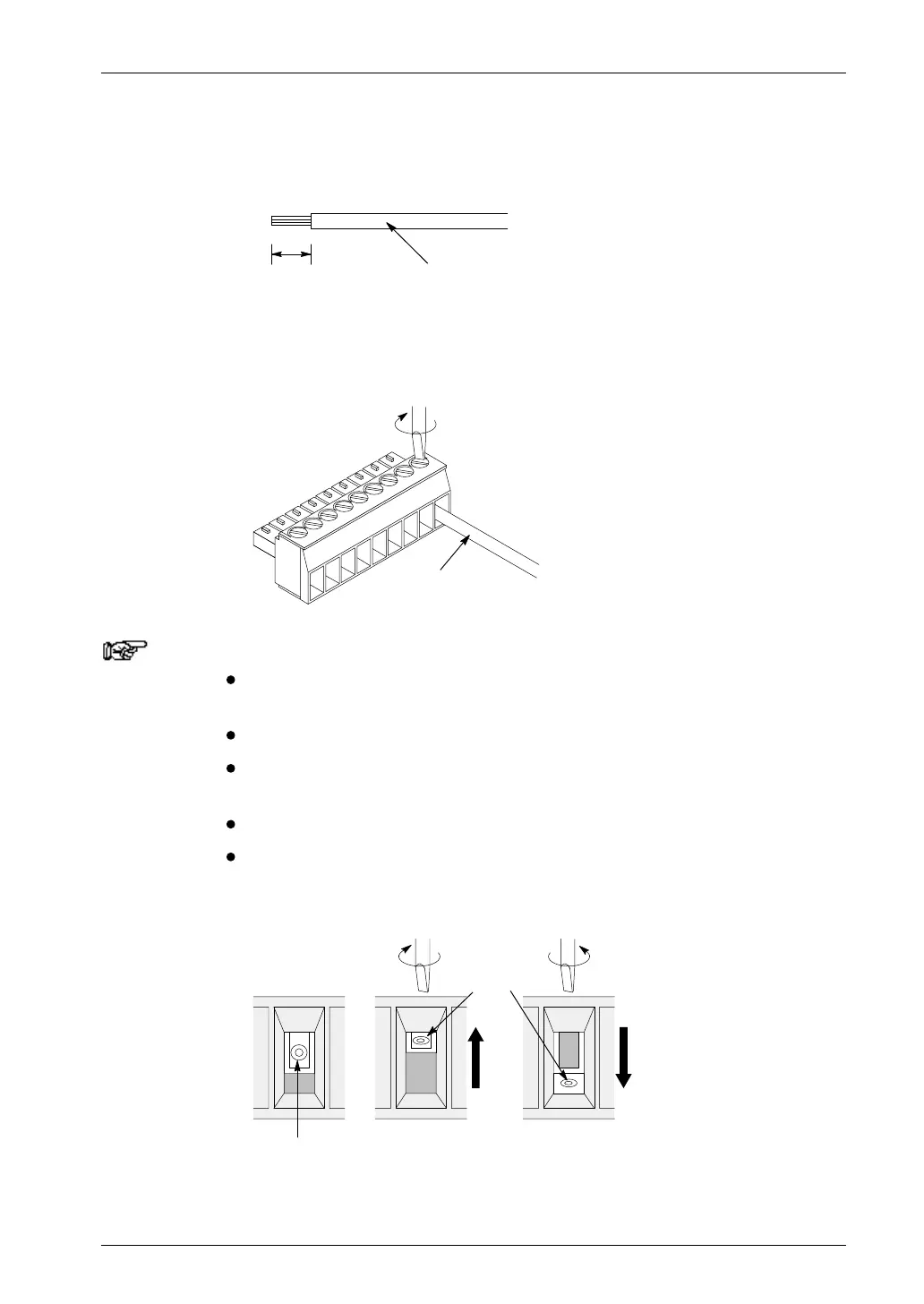
FP0 Hardware 9.6 Wiring the Terminal Block Socket
9-13Matsushita Electric Works (Europe) AG
Procedure:
1. Remove a portion of the wires insulation.
7mm/0.276in.
Suitable wire
2. Insert the wire into the terminal block socket until it
contacts the back of the block socket, and then tighten the
screw clockwise to fix the wire in place.
Clockwise
Wire
Notes
When removing the wires insulation, be careful not to scratch
the core wire.
Do not twist the wires to connect them.
Do not solder the wires to connect them. The solder may
break due to vibration.
After wiring, make sure stress is not applied to the wire.
In the terminal block socket construction, if the wire closes
upon counter-clockwise rotation, the connection is faulty.
Disconnect the wire, check the terminal hole, and then
re-connect the wire.
Clockwise Counter
clockwise
Wire
Wire
CORRECT INCORRECT

Table of Contents

Other manuals for NAiS FP Series

Related product manuals