EasyManua.ls Logo

Polaroid SprintScan SS35 - Page 44

Polaroid SprintScan SS35
187 pages
Print Icon
To Next Page IconTo Next Page
To Next Page IconTo Next Page
To Previous Page IconTo Previous Page
To Previous Page IconTo Previous Page
Loading...
44
Slide Scanner Repair Manual Functional Description
SCSI
AOI
Programming
Communications
CSYNC LSYNC SYSCLK
RGB
Data IN
2345678901234567890123
2345678901234567890123
2345678901234567890123
Filter Wheel Stepper Motor
2345678901234567890123
2345678901234567890123
I/O
Lines
Ready (Yellow) LED
Transporter Photo-Interrupter
Filter Wheel Photo-Interrupter
Transporter Stepper Motor
Power On (Green) LED
MicroController
UC
Host
Computer
SCSI
Bus
SRAM
SRAM
DRAM
(Buffer)
Secondary
Color Correction
ASIC
Primary
Correction
ASIC
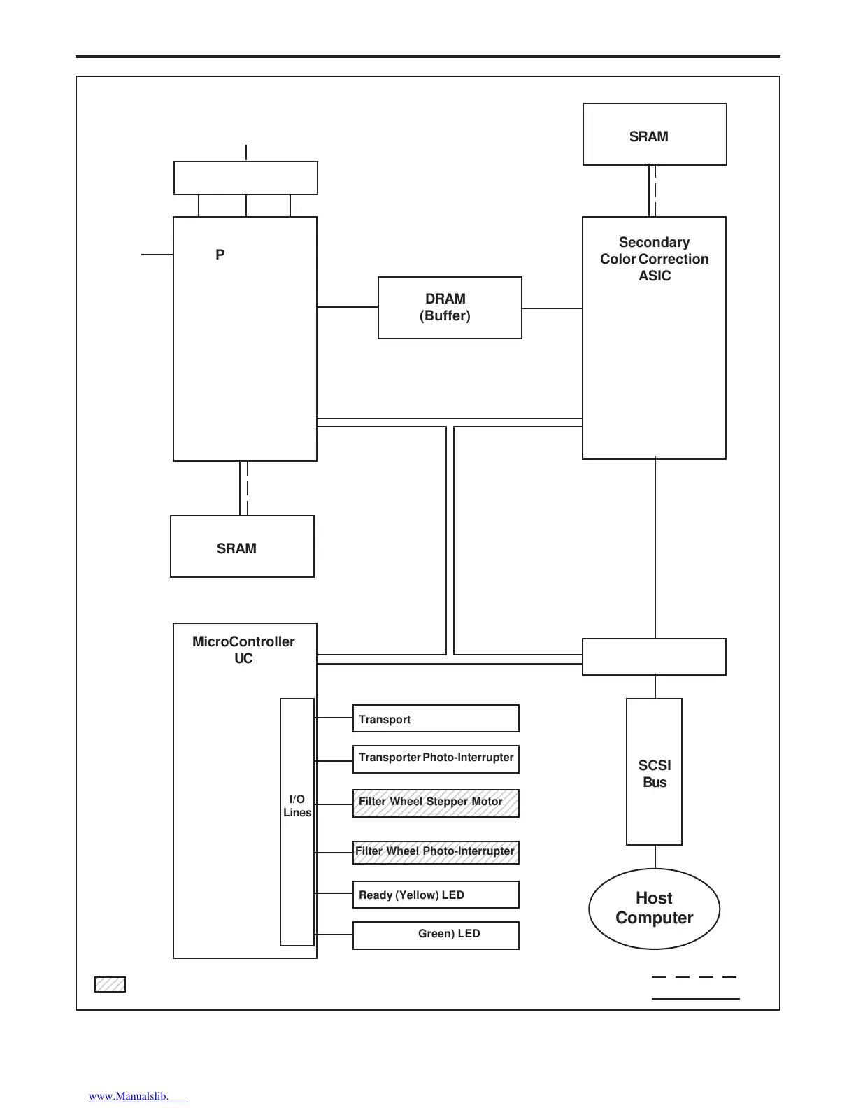
Figure 2-6. Main controller PC board (digital signal processing)
12345
1
234
5
12345
- Filter Set Assembly w/Stepper Motor used on original SprintScan 35.
Also used on SprintScan 35 ES up to serial no. B6xxxxxxD.
Notes: Input
Output
Timing
To
Sensor (CCD) Board
(HCLKS, VCLKS, RG, SEL0, SEL1)

Table of Contents

Related product manuals