EasyManua.ls Logo

SEW-Eurodrive MOVISAFE DCS B Series

SEW-Eurodrive MOVISAFE DCS B Series
156 pages
To Next Page IconTo Next Page
To Next Page IconTo Next Page
To Previous Page IconTo Previous Page
To Previous Page IconTo Previous Page
Loading...
26
Manual – MOVIDRIVE® MDX61B Safety Module MOVISAFE® DCS..B Option
3
Safety functions
Integrated Safety Technology
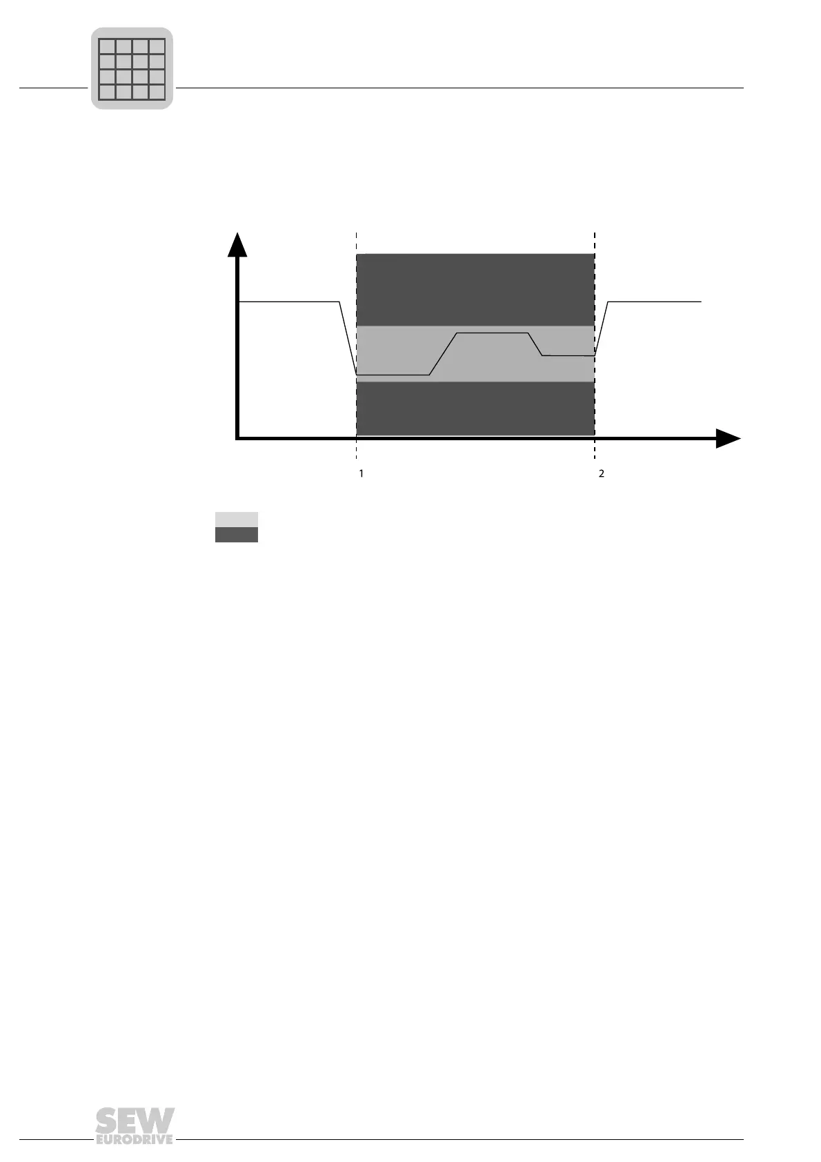
3.2.10 SSR – Safe Speed Range
The SSR function prevents the speed of the drive from exceeding a specified range. If
the permitted velocity range is exceeded, the safety function will be disabled and an
error response will be triggered (usually STO or SS1).
2405245835
Safety function monitors
Safety function trips
v=Velocity
t=Time
t
1
= Point of time when SSR is activated
t
2
= Point of time when SSR is deactivated
t
t
t
V
P
i
f
kVA
Hz
n

Table of Contents

Related product manuals