EasyManua.ls Logo

SEW-Eurodrive MOVISAFE DCS B Series

SEW-Eurodrive MOVISAFE DCS B Series
156 pages
To Next Page IconTo Next Page
To Next Page IconTo Next Page
To Previous Page IconTo Previous Page
To Previous Page IconTo Previous Page
Loading...
Manual – MOVIDRIVE® MDX61B Safety Module MOVISAFE® DCS..B Option
41
5
Connection and terminal description of the DCS..B option
Installation
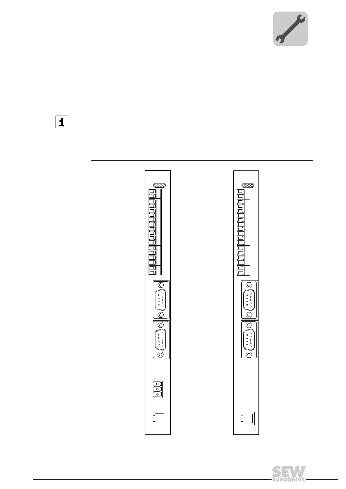
5.5 Connection and terminal description of the DCS..B option
5.5.1 Part numbers
DCS21B safety module option: 1 820 392 2
DCS31B safety module option: 1 820 958 0
INFORMATION
Option DCS..B can only be installed when using MOVIDRIVE
®
MDX61B sizes 1 to
7.
The DCS..B option must be supplied with DC 24 V. The overall current consump-
tion is DC 1.9 A.
DCS21B can only be used in combination with the DFS12B/22B fieldbus interface.
The DCS..B option must be inserted in the expansion slot.
1971397643
DCS21B
X81X82
X84X85X87 X86
X83 X80
5
1
9
6
5
1
9
6
F
WD
B
A
DCS31B
X81X82
X84X85X87
X83 X80
5
1
9
6
5
1
9
6
F
WD
B
A

Table of Contents

Related product manuals