EasyManua.ls Logo

SEW-Eurodrive MOVISAFE DCS B Series

SEW-Eurodrive MOVISAFE DCS B Series
156 pages
To Next Page IconTo Next Page
To Next Page IconTo Next Page
To Previous Page IconTo Previous Page
To Previous Page IconTo Previous Page
Loading...
Manual – MOVIDRIVE® MDX61B Safety Module MOVISAFE® DCS..B Option
53
5
Connecting binary inputs DI1 to DI8
Installation
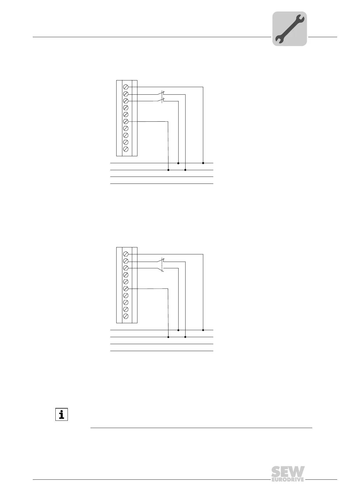
5.8.5 Dual-channel sensor, monitored
All cross fault connections and connections to DC 24 V and DC 0 V can be detected
when two independent pulse signals are used on a homogeneous sensor. Use only NC
contacts for safety applications.
Note that when connecting a diversified sensor (see above figure), only the NO contact
is monitored regularly. As with the homogeneous sensor, all types of faults are detected
in the supply line.
1972460299
1972462987
P1
P2
DI1
DI2
DI3
DI4
DI5
DI6
DI7
DI8
DC 24 V
P2
P1
X81
DC 0 V
1
6
2
3
4
5
7
8
9
10
P1
P2
DI1
DI2
DI3
DI4
DI5
DI6
DI7
DI8
DC 24 V
P2
P1
X81
DC 0 V
1
6
2
3
4
5
7
8
9
10
INFORMATION
A category 4 structure according to EN ISO 13849-1 can be achieved with both
circuits.

Table of Contents

Related product manuals