EasyManua.ls Logo

Teledyne 200E - Front Panel; Display; Figure 10-16: M200 E Electronic Interface Block Diagram

Teledyne 200E
302 pages
Print Icon
To Next Page IconTo Next Page
To Next Page IconTo Next Page
To Previous Page IconTo Previous Page
To Previous Page IconTo Previous Page
Loading...
Theory of Operation Model 200E Instruction Manual
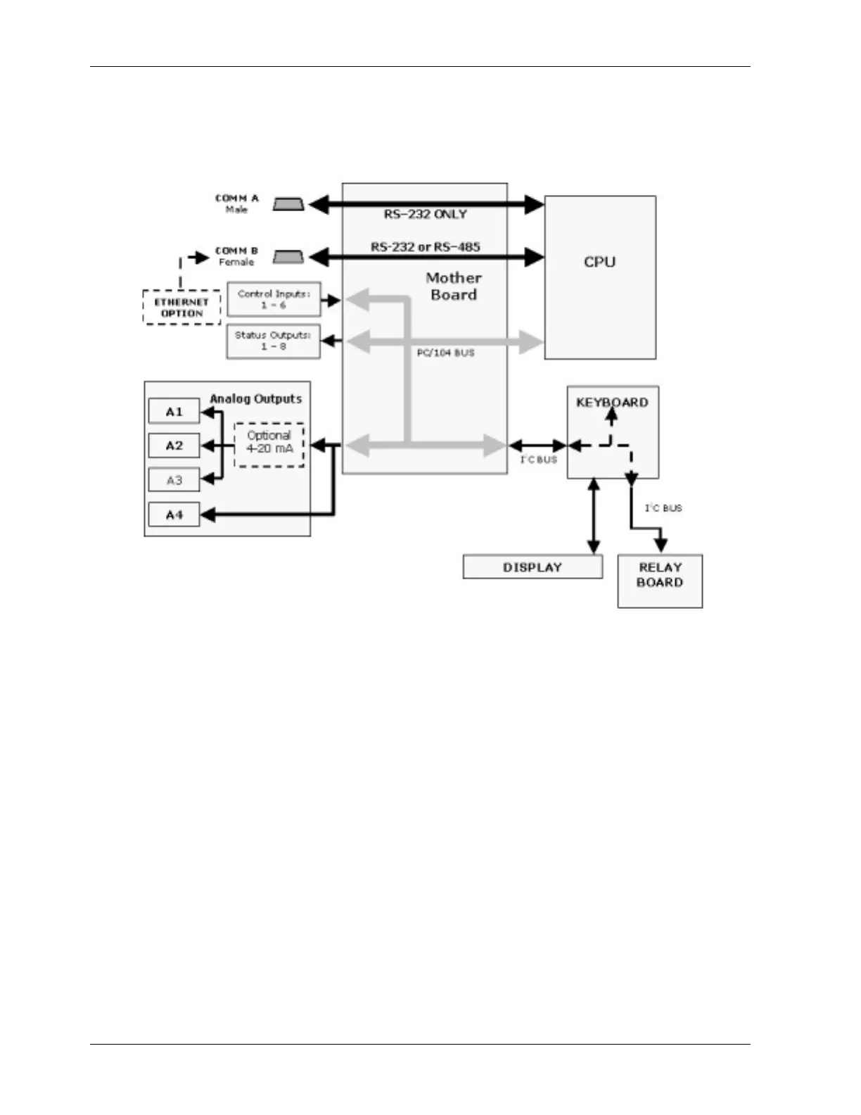
and display. Direct communication with the CPU is also available through the analyzer’s RS-
232 and RS-485 ports. The analyzer can also send and receive different kinds of information
through its external, digital I/O connectors and through the four analog outputs, all located
on the rear panel.
Figure 10-16: M200E Electronic Interface Block Diagram
10.3.7.1. Front Panel
The front panel of the analyzer is hinged at the bottom and may be opened to gain access
to various components mounted on the panel itself or located near the front of the
instrument (such as the particulate filter). Two fasteners located in the upper right and left
corners of the panel lock it in place, whereas a locking screw in the center top prevents
users without tools from accessing the interior of the analyzer (Figure 3-2).
10.3.7.2. Display
The main display of the analyzer is an vacuum florescent display with two lines of 40 text
characters each. Information is organized in the following manner:
Mode Field: The far left portion of the top line of text displays the name of the operation
mode in which the analyzer is currently operating for more information on operation modes
see Section 6.1.
Message Field: The center portion of the top line of text displays a variety of informational
messages. Warning messages are displayed here as are responses by the analyzer to
182 044100102 Rev A

Table of Contents

Related product manuals