EasyManua.ls Logo

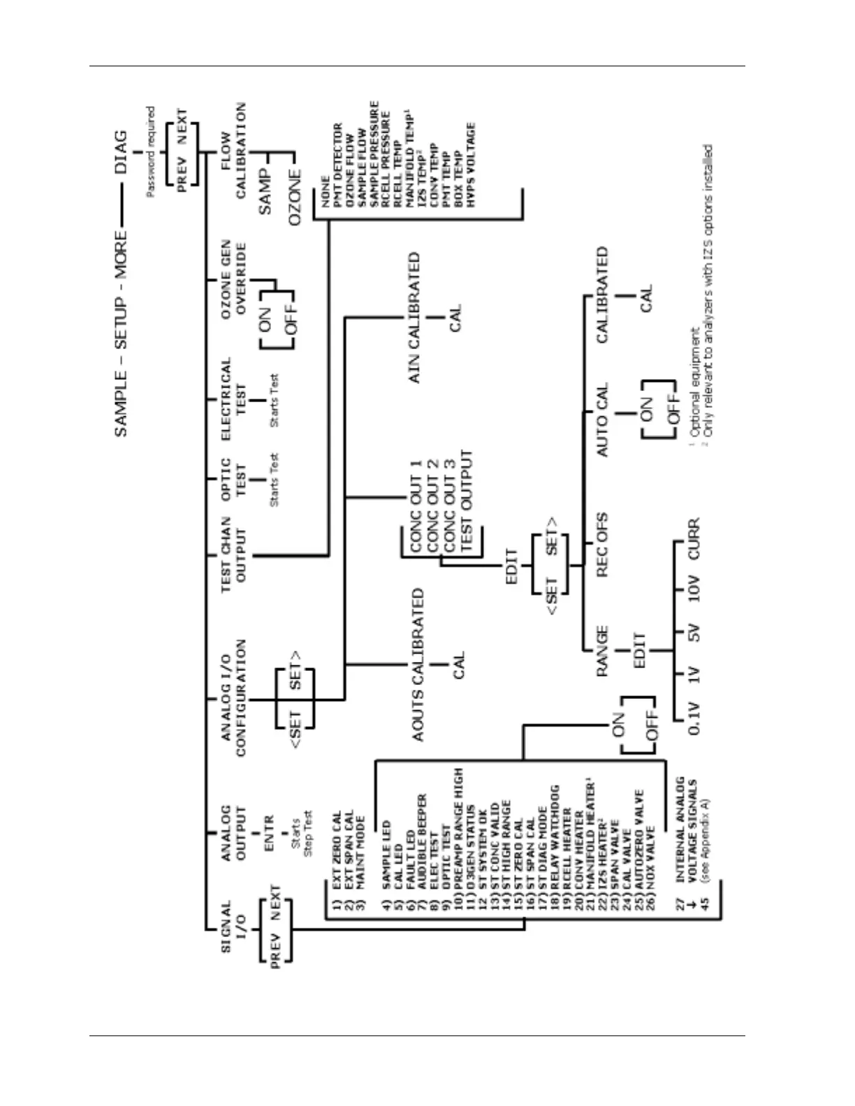
Teledyne 200E - Figure A-5: Secondary Setup Menu (DIAG)

Teledyne 200E
302 pages
Print Icon
To Next Page IconTo Next Page
To Next Page IconTo Next Page
To Previous Page IconTo Previous Page
To Previous Page IconTo Previous Page
Loading...
APPENDIX A Model 200E Instruction Manual
Figure A-5: Secondary Setup Menu (DIAG)
230 044100110 Rev A

Table of Contents

Related product manuals