EasyManua.ls Logo

ViaSat ArcLight - Figure 1-7. Software Relationships; Table 1-2. Functions with Software and Hardware Relationships

Default Icon
368 pages
Print Icon
To Next Page IconTo Next Page
To Next Page IconTo Next Page
To Previous Page IconTo Previous Page
To Previous Page IconTo Previous Page
Loading...
ArcLight Hub User’s Guide
General System Description
Rev. 001 1081006 1-11
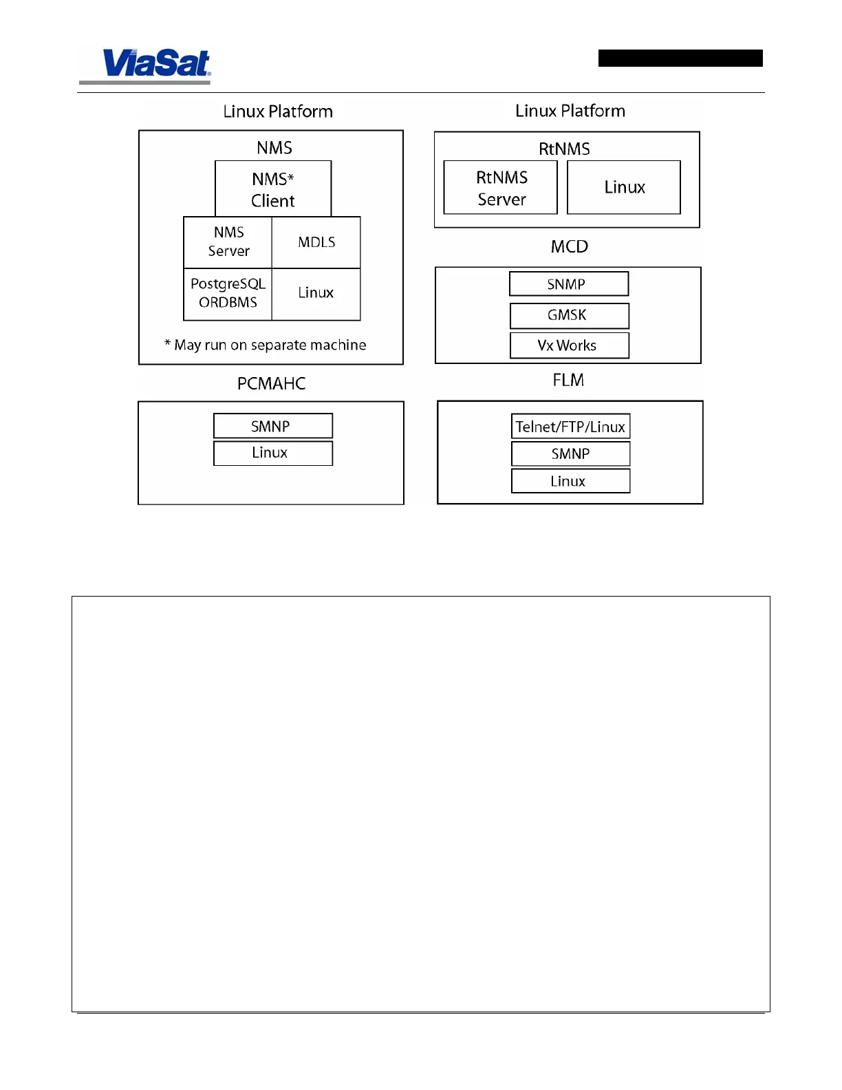
Figure 1-7. Software Relationships
Table 1-2. Functions with Software and Hardware Relationships
Function Software Hardware
Traffic
management
Cisco IOS, Linux OS Routing, VxWorks OS PBR, MCD, FLM,
Switches
Domain name
service
DNS service is a configurable portion of the network deployment. It may be
local to the Hub or external at the internet DNS Server, or it may be a
designated customer specific DNS Server and may use tunneling to get there
Separate
Provisioning NMS Client, NMS Server, PostgreSQL ORDBMS, RtNMS Server NMS, RtNMS
Power control NMS, RtNMS Server RtNMS
Return channel
access
Multi-channel Demodulator (MCD) GMSK, NMS Server, RtNMS Server MCD, RtNMS
Frequency control RtNMS Server, MCD RtNMS, MCD
Congestion
control
NMS, RtNMS Server, MCD RtNMS, MCD
Status
Monitoring:
Troubleshooting NMS client and external software NMS, Support
Server, Monitor
Server
Hub equipment NMS Client, IsItUp Monitor Server;
NMS
VMT equipment APR server, Term Viewer, NMS client, IsItUp Support Server,
NMS
Database files Linux file system, Postgres RDBMS NMS, RtNMS

Table of Contents