EasyManua.ls Logo

Yamaha MT-09 2021 - Page 610

Yamaha MT-09 2021
752 pages
Print Icon
To Next Page IconTo Next Page
To Next Page IconTo Next Page
To Previous Page IconTo Previous Page
To Previous Page IconTo Previous Page
Loading...
9-180
P0500, P1500
Short circuit check
TIP
Disconnect the ECU related connectors before checking.
Refer to “PARTS CONNECTED TO THE ECU” on page 9-4.
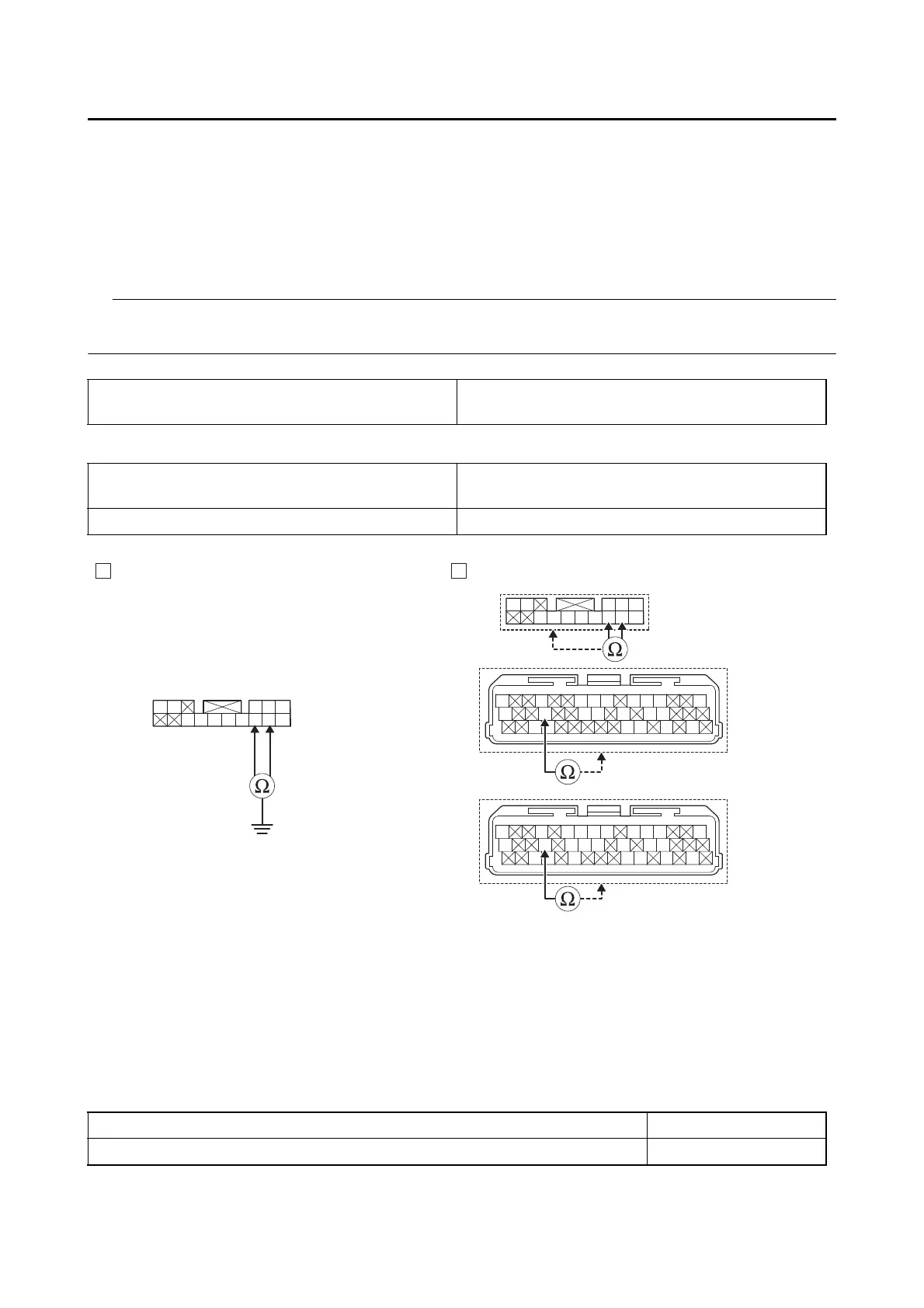
Ground short circuit check “A”
Lines short circuit check “B”
Is it correct indication?
YES
Go to step 21.
NO
Go to “Short circuit check”.
Between relay unit coupler “1” and ground
black–ground
sky blue–ground
Relay unit coupler “1”
black–any other coupler terminal
sky blue–any other coupler terminal
ECU coupler “2” black/yellow–any other coupler terminal
Gy
LLVP
P/WLg/LO/WY/LL/B
B/LB/LBr/WGy/GG/LBr/LB/YL/W
W/YW/GG/WG/WLg/BL/WL/Y
Gy
LLVP
P/WLg/LY/LL/B
B/LB/LBr/WGy/GG/LB/YL/W
W/YW/GG/WG/WL/WL/Y
2
**
2
*
1
W
L/W
R
L/B
LB
Sb/W
Sb
W
Br
L/W
RR
1
W
L/W
R
L/B
LB
Sb/W
Sb
W
Br
L/W
RR
BA
*. MTN890
**. MTN890D
Is resistance Ω?
YES
Go to step 11.
NO
a. Replace the wire harness.
b. Execute the diagnostic mode. (Code 21)
When the transmission is in neutral ON
When the transmission is in gear with the clutch lever released OFF

Table of Contents