EasyManua.ls Logo

YASKAWA SGD7S - Page 201

YASKAWA SGD7S
621 pages
Print Icon
To Next Page IconTo Next Page
To Next Page IconTo Next Page
To Previous Page IconTo Previous Page
To Previous Page IconTo Previous Page
Loading...
6.1 I/O Signal Allocations
6.1.1 Input Signal Allocations
6-6
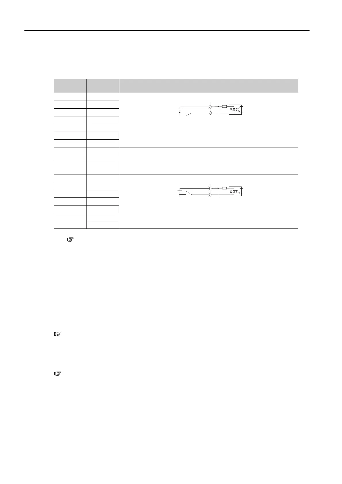
Relationship between Parameter Settings, Allocated Pins, and Polari-
ties
The following table shows the relationship between the input signal parameter settings, the
pins on the I/O signal connector (CN1), and polarities.
Note: Refer to the following section for details on input signal parameter settings.
14.1 List of Parameters on page 14-2
Example of Changing Input Signal Allocations
The following example shows reversing the P-OT (Forward Drive Prohibit) signal allocated to
CN1-42 and the /P-CL (External Torque Limit) signal allocated to CN1-45.
Refer to the following section for the parameter setting procedure.
5.1.3
Parameter Setting Methods
on page 5-6
Confirming Input Signals
You can confirm the status of input signals on the I/O signal monitor. Refer to the following sec-
tion for information on the I/O signal monitor.
9.2.3 I/O Signal Monitor on page 9-7
Parameter
Setting
Pin No. Description
040
A reverse signal (a signal with “/” before the signal abbreviation, such as the /
S-ON signal) is active when the contacts are ON (closed).
A signal that does not have “/” before the signal abbreviation (such as the P-
OT signal) is active when the contacts are OFF (open).
141
242
343
444
545
646
7–
The input signal is not allocated to a connector pin and it is always active.
If the signal is processed on a signal edge, then it is always inactive.
8–
The input signal is not allocated to a connector pin and it is always inactive.
Set the parameter to 8 if the signal is not used.
940
A reverse signal (a signal with “/” before the signal abbreviation, such as the /
S-ON signal) is active when the contacts are OFF (open).
A signal that does not have “/” before the signal abbreviation (such as the P-
OT signal) is active when the contacts are ON (closed).
A41
B42
C43
D44
E45
F46
Pn50A = n.2

0 Pn50B = n.
5

Before change
↓↓
Pn50A = n.5

1 Pn50B = n.
2

After change
+24 V
+24 V

Table of Contents

Related product manuals