EasyManua.ls Logo

Alcatel-Lucent 7450 - Page 493

Alcatel-Lucent 7450
778 pages
Print Icon
To Next Page IconTo Next Page
To Next Page IconTo Next Page
To Previous Page IconTo Previous Page
To Previous Page IconTo Previous Page
Loading...
Filter Policies
Router Configuration Guide 493
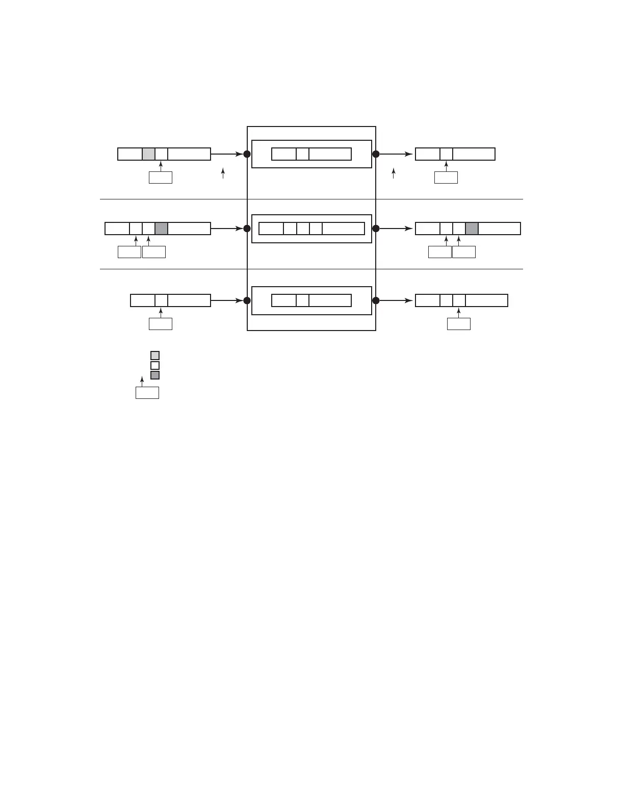
Figure 20: VID Filtering Examples
VID filters are available on Ethernet SAPs for Epipe, VPLS or I-VPLS including eth-tunnel
and eth-ring services.
Arbitrary Bit Matching of VID Filters
In addition to matching an exact value, a VID filter mask allows masking any set of bits. The
masking operation is ((value and vid-mask) = = (tag and vid-mask)). For example: A value
of 6 and a mask of 7 would match all VIDs with the lower 3 bits set to 6. VID filters allow
explicit matching of VIDs and matching of any bit pattern within the VID tag.
When using VID filters on SAPs only VID filters are allowed on this SAP. Filters of type
normal and ISID are not allowed.
An additional check for the “0” VID tag may be required when using certain wild card
operations. For example frames with no tags on null encapsulated ports will match a value of
0 in outer tag and inner tag because there are no tags in the frame for matching. If a zero tag
is possible but not desired it can be explicitly filtered using exact match on “0” prior to testing
other bits for “0”.
MAC 10 20 ...Payload
MAC
Service Delimiting Tags: Stripped on Ingress and Added on Egress (Can not be used for matching)
Tags Carried Transparently by the Service
Tags Too Deep to be Service Delimiting or to be Used for VID Filtering
Tag Available for Matching and Indication of Which Match Criteria to Use
20 10 ...Payload
MAC 10 20 30 ...Payload MAC 10 20 30 ...PayloadMAC 10 20 30 ...Payload
MAC 20 ...PayloadMAC 20 ...Payload
MAC 20 ...Payload
Service 3
Service 2
Service 1
MAC 10 ...Payload
SAP 1/1/1:10.*
qinq dot1q
null null
dot1q
outer
dot1q
SAP 2/1/1:*
SAP 1/1/2 SAP 2/1/2
SAP 1/1/3:* SAP 2/1/3:20
outerIngress: Egress:
Egress:
Egress:
Port
Encap
Port
Encap
outer
outer
outer inner
outer
outer inner
OSSG735

Table of Contents

Other manuals for Alcatel-Lucent 7450

Related product manuals