EasyManua.ls Logo

BLEMO ER24 Series - Page 223

BLEMO ER24 Series
344 pages
Print Icon
To Next Page IconTo Next Page
To Next Page IconTo Next Page
To Previous Page IconTo Previous Page
To Previous Page IconTo Previous Page
Loading...
Configuration Mode (ConF)
225
Example: Forward slowdown, on rising edge
Forward s lowdown takes place on a ris ing edge (change from 0 to 1) of the input or bit as signed to forward
slowdown if this ris ing edge occurs in forward operation. The slowdown com mand is then s tored, even in
the event of a power outage. Operation in the opposite direction is authorized at high s peed. The slowdown
com mand is deleted on a falling edge (change from 1 to 0) of the input or bit as s igned to forward s lowdown
if this falling edge occurs in revers e operation.
A bit or a logic input can be ass igned to dis able this function.
Although forward s lowdown is disabled while the disable input or bit is at 1, sens or changes continue to be
m onitored and s aved.
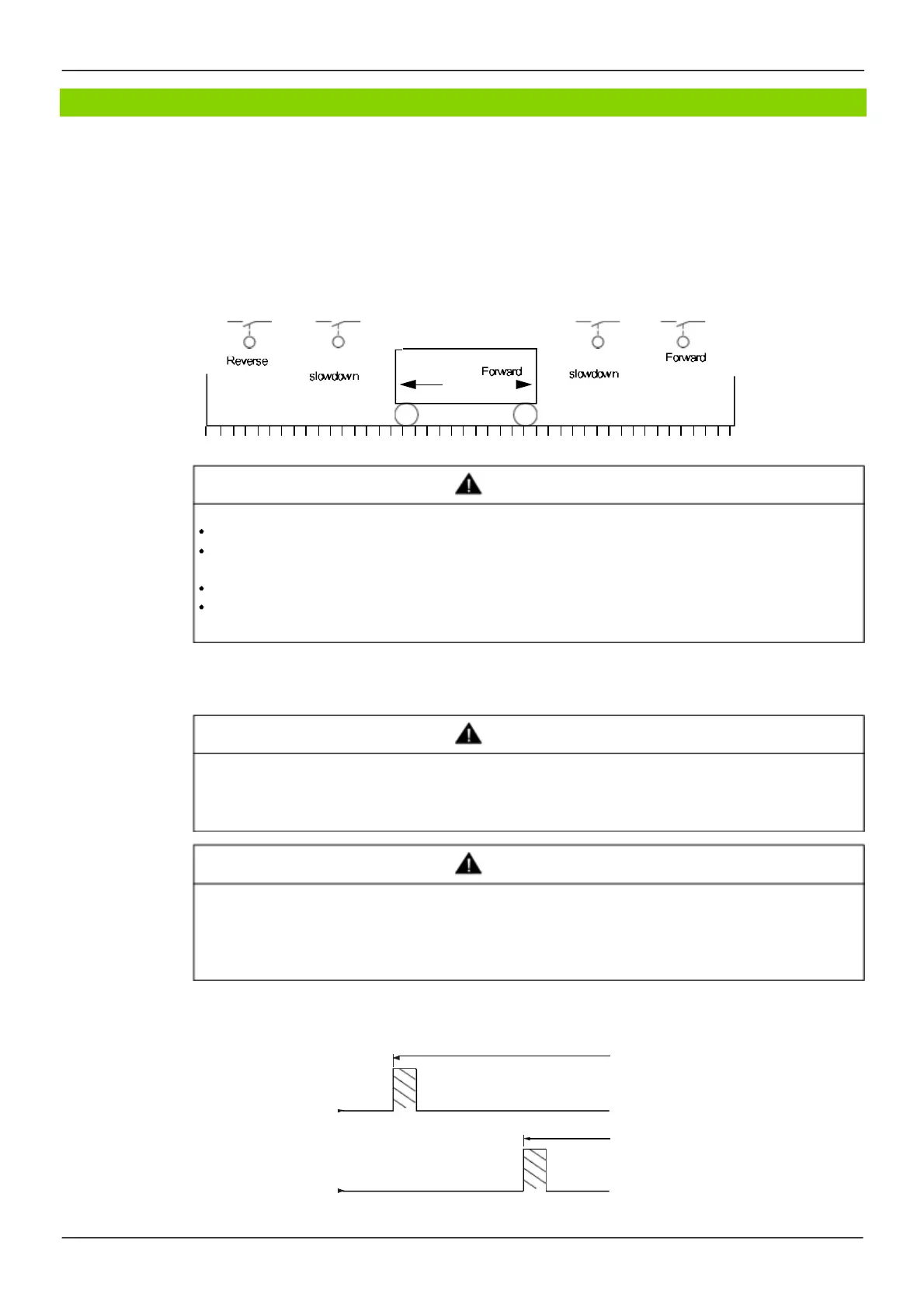
Example: Positioning on a limit switch, on rising edge
Operation with short cams:
In this instance, when operating for the firs t tim e or after res toring the factory s ettings , the drive mus t initially
be started outside the s lowdown and s top zones in order to initialize the function.
Forw ard slow dow n zone
Forw ard slow dow n
Forw ard stop zone
Forw ard stop
Parameters described in this page can be accessed by:
DRI- > CONF > FULL > FUN- > LPO-
stop
Reverse
Reverse
Forw ard
stop
WARNING
LOSS OF CONTROL
Verify correct connection of the limit switches.
Verify the correct installation of the limit switches. The limit switches must be mounted in a position far
enough away from the mechanical stop to allow for an adequate stopping distance.
You must release the limit switches before you can use them.
Verify the correct function of the limit switches
Failure to follow these instructions can result in death, serious injury, or equipment damage.
WARNING
LOSS OF CONTROL
When operating for the first time or after a reset of the configuration to the factory settings, the motor must
always be started outside of the Slowdown and Stop ranges.
Failure to follow these instructions can result in death, serious injury, or equipment damage.
WARNING
LOSS OF CONTROL
When the drive is switched off, it stores the range which it is currently in.
If the system is moved manually while the drive is off, you must restore the original position before switching
it on again.
Failure to follow these instructions can result in death, serious injury, or equipment damage.

Table of Contents

Related product manuals