EasyManua.ls Logo

Buell P3 - Page 418

Buell P3
440 pages
Print Icon
To Next Page IconTo Next Page
To Next Page IconTo Next Page
To Previous Page IconTo Previous Page
To Previous Page IconTo Previous Page
Loading...
2007 Buell P3: Electrical 7-53
HOME
Rear
1. See Figure 7-68. Insert bullet connectors through rear
hole in tail lamp bracket. Attach turn signal using lock
washer and nut. Tighten nut to 25-28 in-lbs (2.8-3.2
Nm).
NOTE
Install turn signal with lens drain hole facing downward.
2. Attach two bullet connectors on turn signal wires as
shown in Figure 7-69.
3. Use new cable strap to bundle turn signal wires beneath
tail section.
11WARNING1WARNING
Be sure that all lights and switches operate properly
before operating motorcycle. Low visibility of rider can
result in death or serious injury. (00316a)
4. Check turn signals for proper operation. If operation fails,
reread procedure and verify that all steps were per-
formed.
a. Turn ignition key switch to IGN.
b. Activate left turn signals using switch on left handle-
bar. Front and rear left turn signals must flash.
c. Activate right turn signals using switch on left han-
dlebar. Front and rear right turn signals must flash.
d. Turn ignition key switch to OFF.
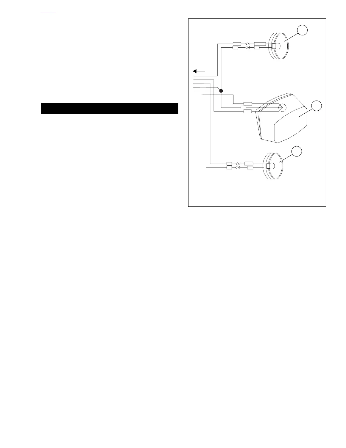
Figure 7-69. Rear Turn Signal Connections
R/Y
O/W
BK
BN
LT.BE
BK BE
BK
R/BK
BE
V
S18
a0258x7x
To [7]
1. Right rear directional lamp
2. Tail lamp
3. Left rear directional lamp
1
3
2

Table of Contents

Related product manuals