EasyManua.ls Logo

Dodge Intrepid - Page 221

Dodge Intrepid
1050 pages
Print Icon
To Next Page IconTo Next Page
To Next Page IconTo Next Page
To Previous Page IconTo Previous Page
To Previous Page IconTo Previous Page
Loading...
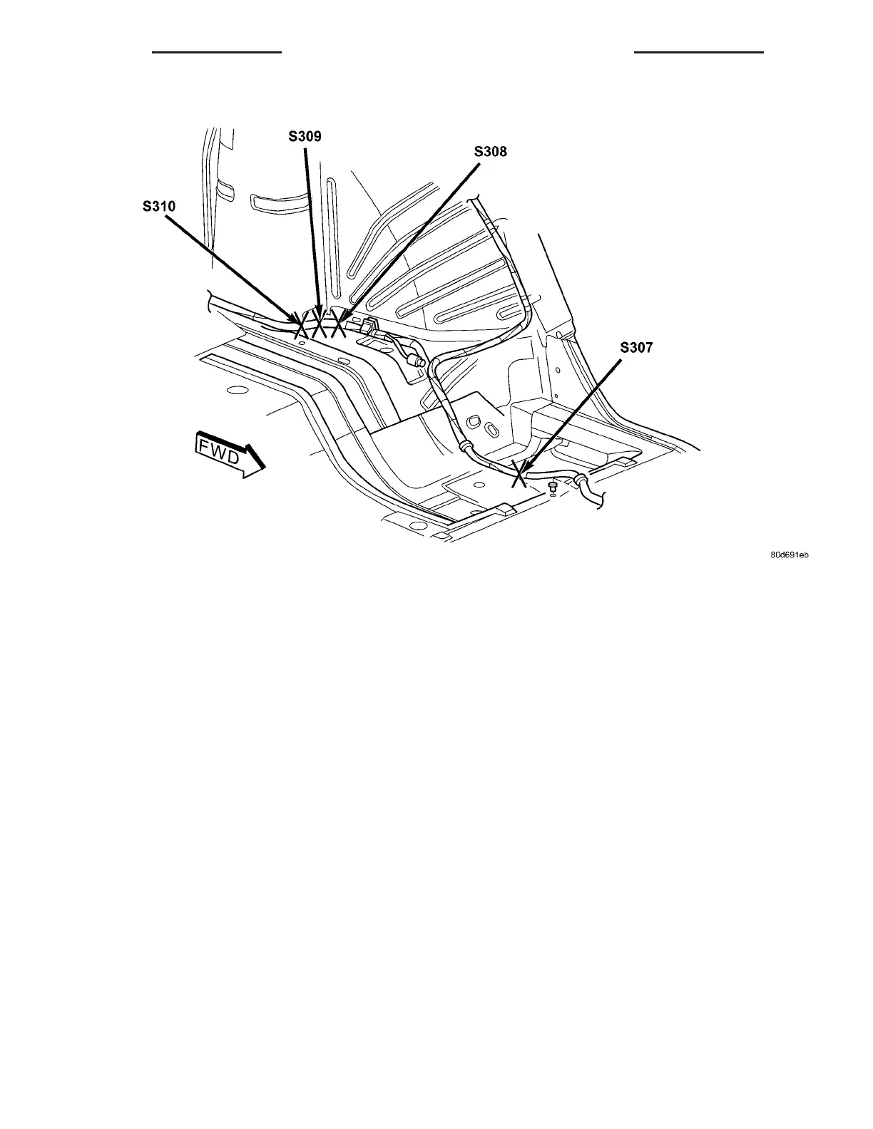
Fig. 14 LEFT SIDE BODY REAR
8W - 91 - 26 8W-91 CONNECTOR/GROUND/SPLICE LOCATION LH
CONNECTOR/GROUND/SPLICE LOCATION (Continued)

Table of Contents

Other manuals for Dodge Intrepid

Related product manuals