EasyManua.ls Logo

Honeywell Farenhyt Series - 6.2.4 Computer Access; 6.2.5 Access Codes

Honeywell Farenhyt Series
176 pages
To Next Page IconTo Next Page
To Next Page IconTo Next Page
To Previous Page IconTo Previous Page
To Previous Page IconTo Previous Page
Loading...
68 IFP-300 Series Manual — P/N LS10145-001SK-E:C 4/6/2022
Networking SK-NIC Installation
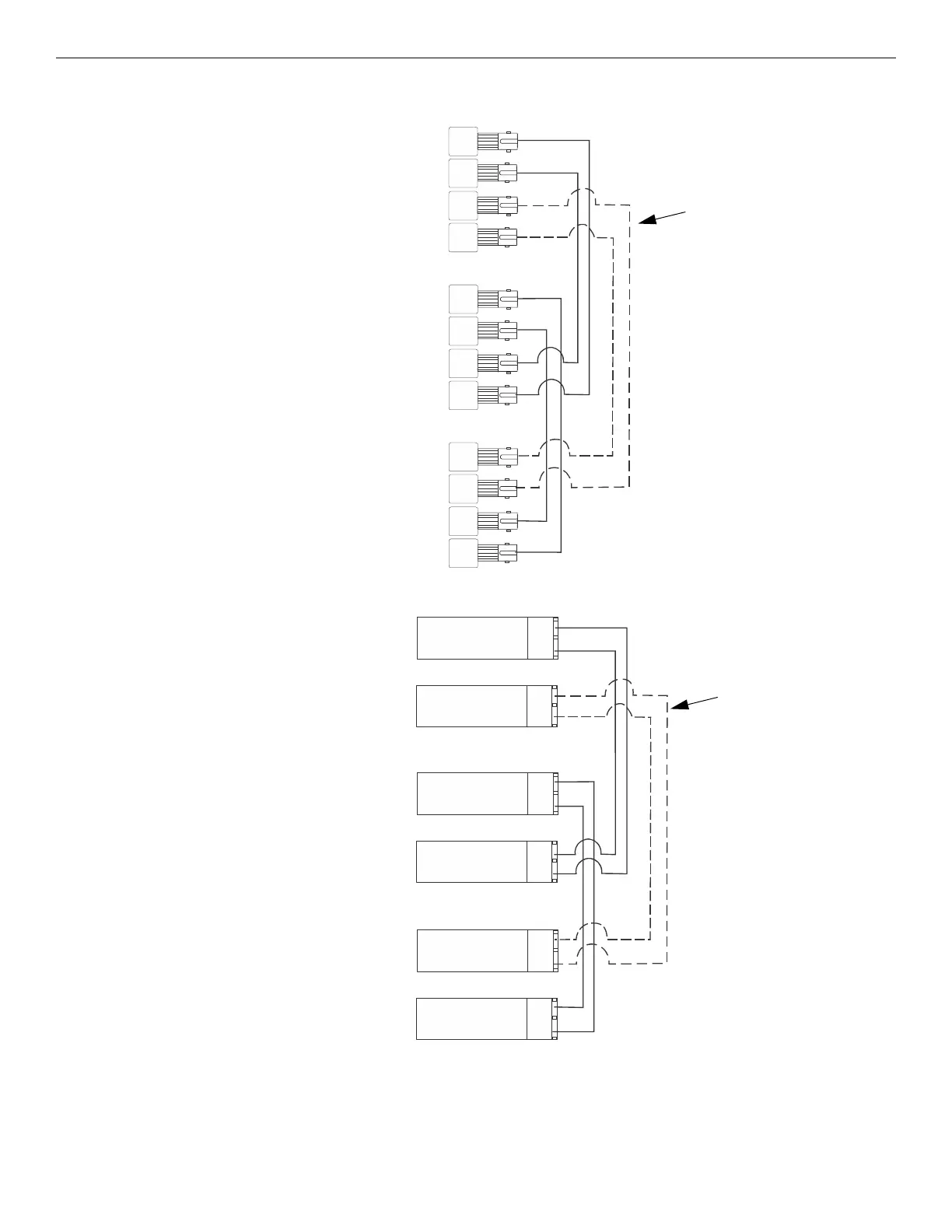
Fiber-Optic Multi-Mode Wiring between Multiple Panels
Fiber-optic cable between multiple panels is shown below in Figure 5.8 and Figure 5.9. Class X is shown with a dotted line.
Class X wiring
in
out
in
out
port 2
port 1
in
out
in
out
port 2
port 1
in
out
in
out
port 2
port 1
last control panel/SK-NIC
next control panel/SK-NIC
first control panel/SK-NIC
Figure 5.8 Fiber-Optic Wiring Multi-Mode Example
Class X wiring
port 2
port 1
port 2
port 1
port 2
port 1
last control panel/SK-NIC
next control panel/SK-NIC
first control panel/SK-NIC
in
out
in
out
in
out
in
out
in
out
in
out
Figure 5.9 Fiber-Optic Wiring Single-Mode Example

Table of Contents

Other manuals for Honeywell Farenhyt Series

Related product manuals