EasyManua.ls Logo

HP 3000 9x9KS - Jumpering

HP 3000 9x9KS
352 pages
To Next Page IconTo Next Page
To Next Page IconTo Next Page
To Previous Page IconTo Previous Page
To Previous Page IconTo Previous Page
Loading...
SCSI and I/O 8-37
Jumpering
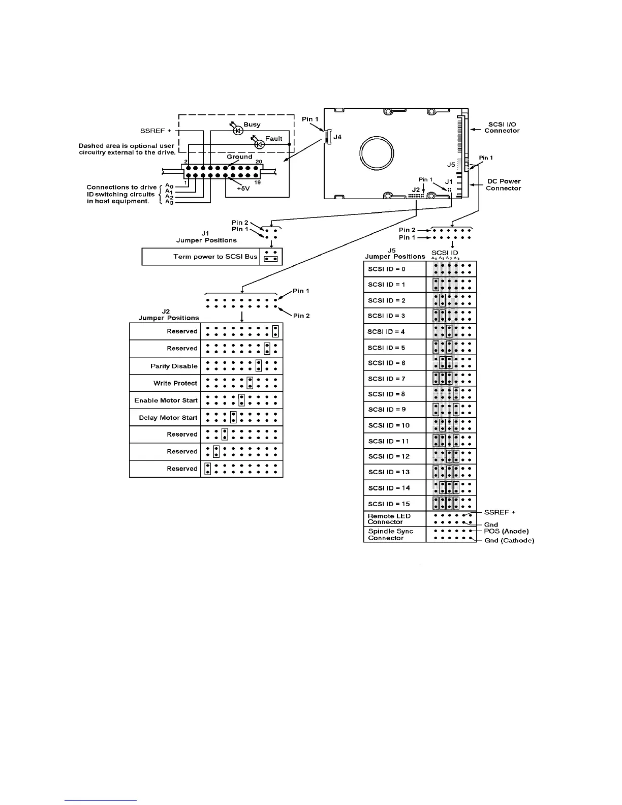
Figure 8-12 shows the jumpers for the HP A3351A drive.
Figure 8-12. HP A3351A 2 Gbyte disk drive jumpering
Table 8-15 provides descriptions of the jumper functions.

Table of Contents

Other manuals for HP 3000 9x9KS

Related product manuals