EasyManua.ls Logo

Omron CP1L - Page 163

Omron CP1L
763 pages
To Next Page IconTo Next Page
To Next Page IconTo Next Page
To Previous Page IconTo Previous Page
To Previous Page IconTo Previous Page
Loading...
129
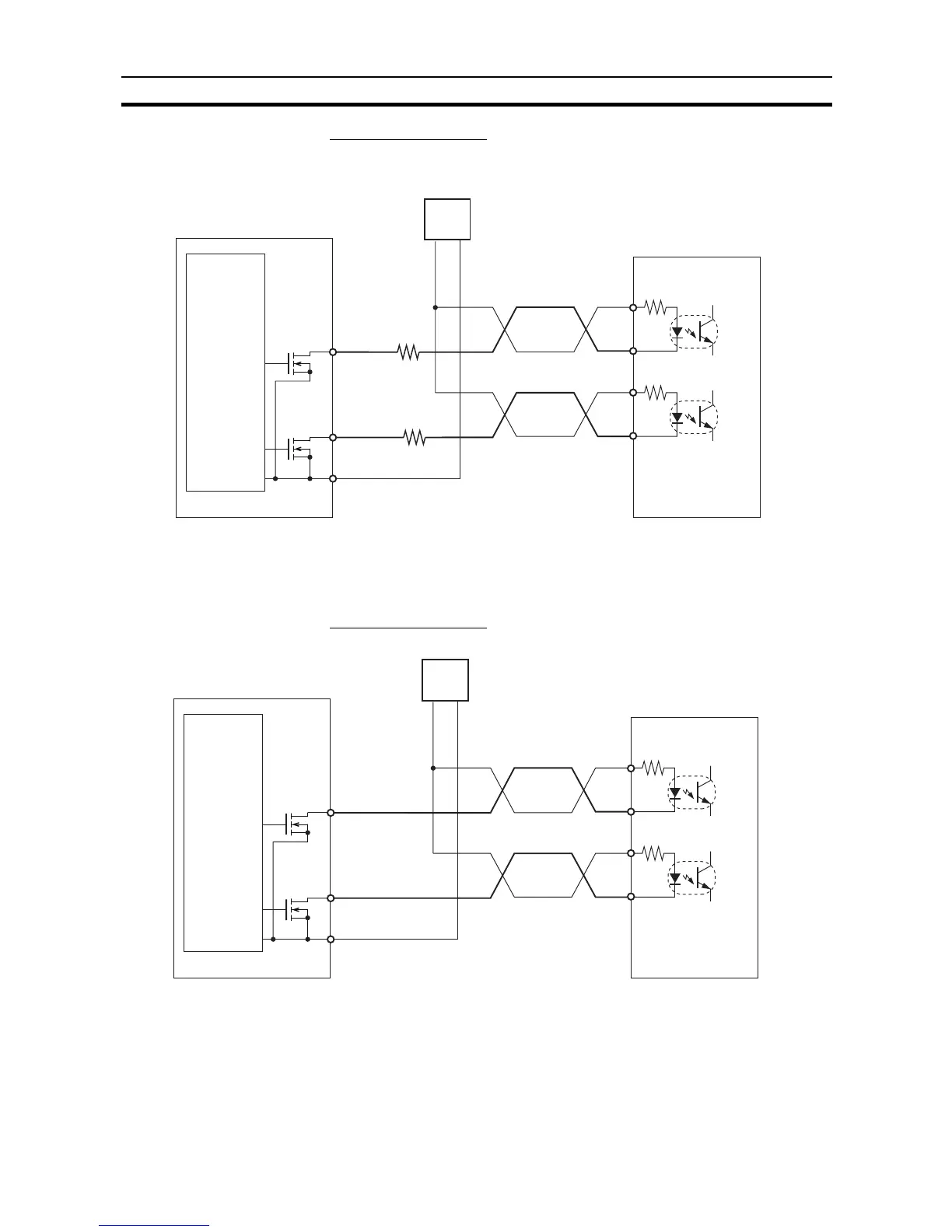
Wiring CPU Unit I/O Section 3-5
Using a 5-VDC
Photocoupler Input Motor
Driver (CP1L-@@@DT-D)
Connection Example 1
In this example, a 5-V input motor driver is used with a 24-VDC power supply.
Be careful to ensure that the Position Control Unit output current does not
damage the input circuit at the motor driver and yet is sufficient to turn it ON.
Take into account the power derating for the 1.6-k resistance.
Connection Example 2
1.6 k
Approx. 12 mA
100.02
1.6 k
Approx. 12 mA
COM
100.03
(+)
()
(+)
()
+
CP1L CPU Unit
24-VDC
power supply
for outputs
CW pulse
output
(Pulse
output)
CCW pulse
output
(Direction
output)
24-V DC power supply
Motor driver (for 5-V input)
(Example: R = 220 )
100.02
100.03
COM
Motor driver (for 5-V input)
5-V DC power supply
()
()
(+)
(+)
+
CP1L CPU Unit
CW pulse
output
(Pulse
output)
CCW pulse
output
(Direction
output)

Table of Contents

Other manuals for Omron CP1L

Related product manuals