EasyManua.ls Logo

Renesas M16C/29 Series - Page 347

Renesas M16C/29 Series
501 pages
Print Icon
To Next Page IconTo Next Page
To Next Page IconTo Next Page
To Previous Page IconTo Previous Page
To Previous Page IconTo Previous Page
Loading...
19. Programmable I/O Ports
puorG92/C61M
page 321
854fo7002,03.raM21.1.veR
2110-1010B90JER
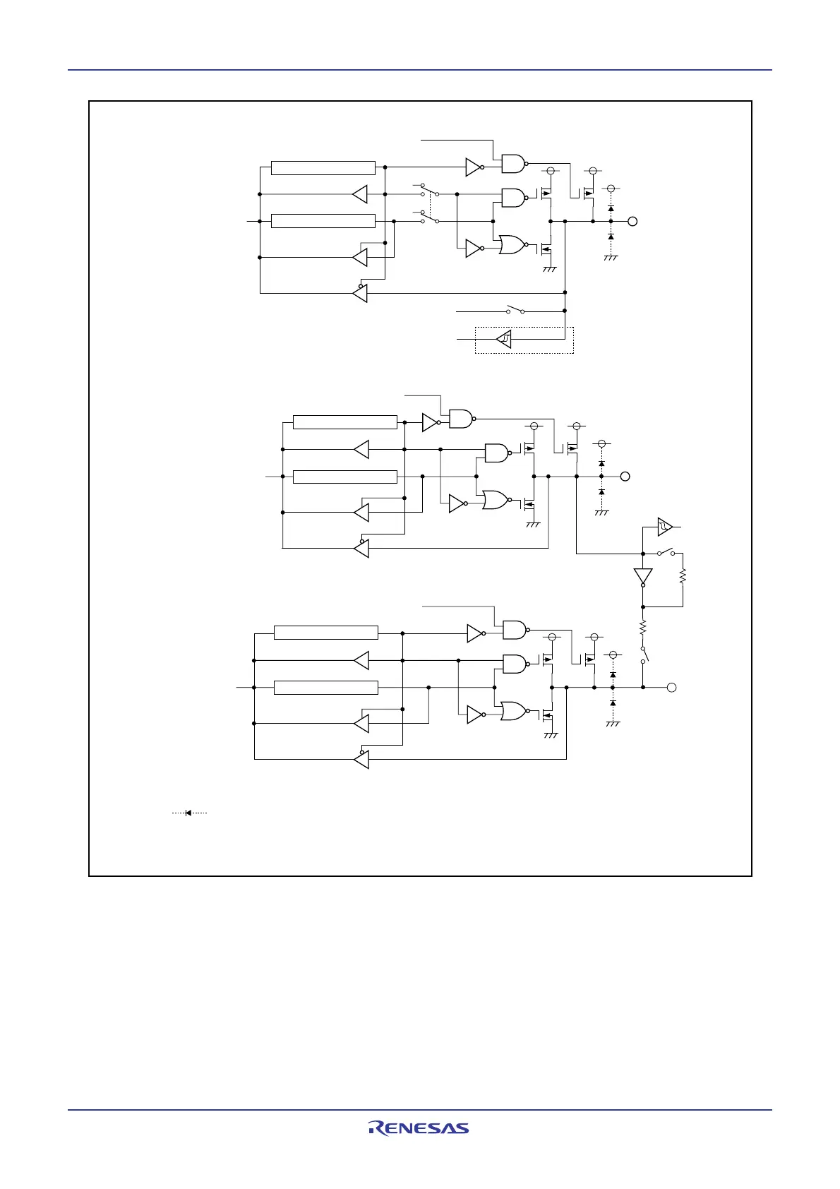
Figure 19.4 I/O Ports (4)
1
Output
Direction register
Data bus
Port latch
Analog input
Pull-up selection
(1)
P87
P86
fc
Rf
Rd
Data bus
Direction register
Pull-up selection
Port latch
Direction register
Pull-up selection
Port latch
Data bus
(1)
(1
)
Input to respective peripheral functions
P9
0, P95
(inside dotted-line
included)
P9
3, P96
(inside dotted-line
not included)
NOTE:
1. symbolizes a parasitic diode.
Make sure the input voltage on each port will not exceed Vcc.

Table of Contents

Related product manuals