EasyManua.ls Logo

Schweitzer Engineering Laboratories SEL-352-1 - Dimensions and Cutout

Schweitzer Engineering Laboratories SEL-352-1
444 pages
Print Icon
To Next Page IconTo Next Page
To Next Page IconTo Next Page
To Previous Page IconTo Previous Page
To Previous Page IconTo Previous Page
Loading...
2-2 Installation Date Code 20010731
SEL-352-1, -2 Instruction Manual
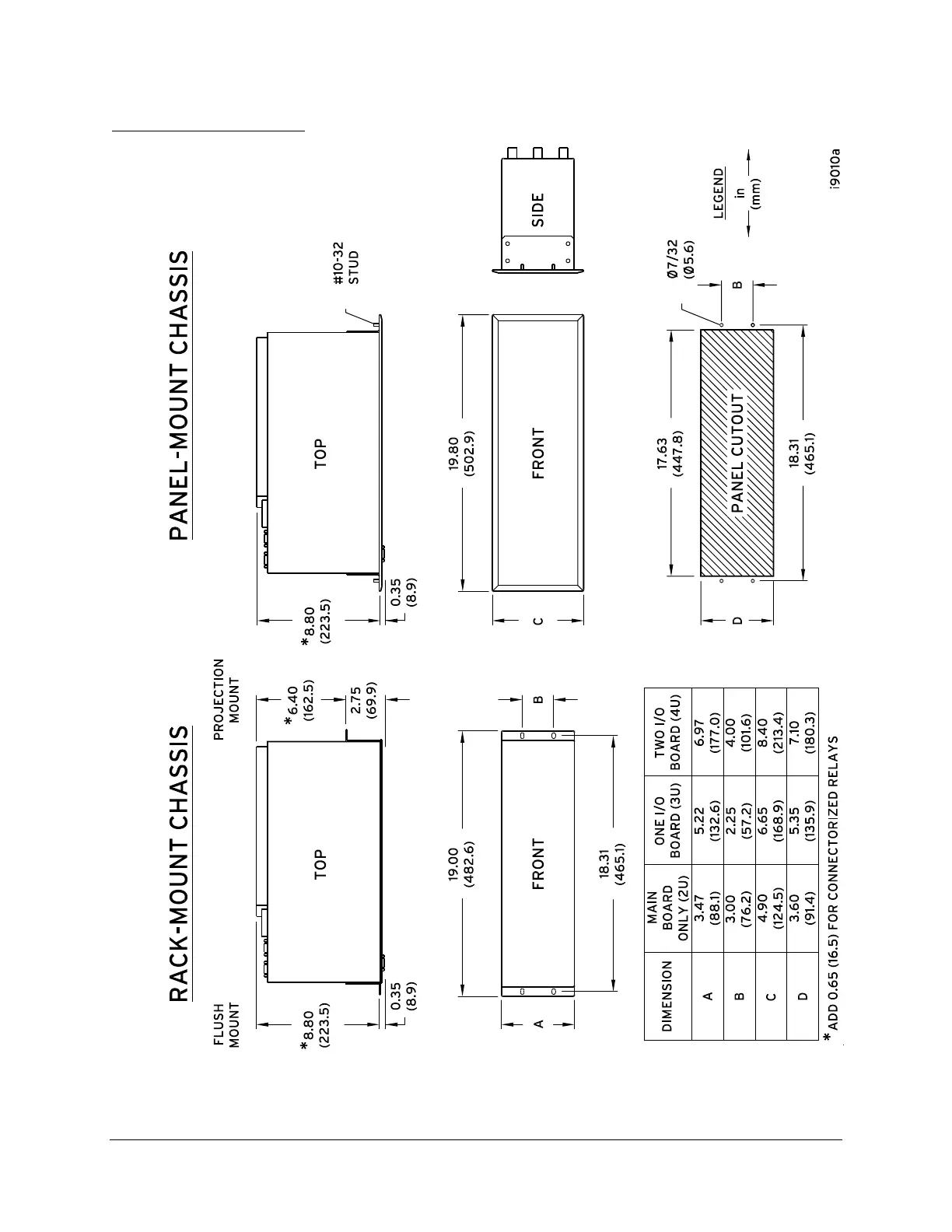
Dimensions and Cutout
Figure 2.1: Dimension Drawing and Panel-Mount Cutout

Table of Contents

Related product manuals