EasyManua.ls Logo

Schweitzer Engineering Laboratories SEL-352-1 - Page 59

Schweitzer Engineering Laboratories SEL-352-1
444 pages
Print Icon
To Next Page IconTo Next Page
To Next Page IconTo Next Page
To Previous Page IconTo Previous Page
To Previous Page IconTo Previous Page
Loading...
Date Code 20010731 Installation 2-27
SEL-352-1, -2 Instruction Manual
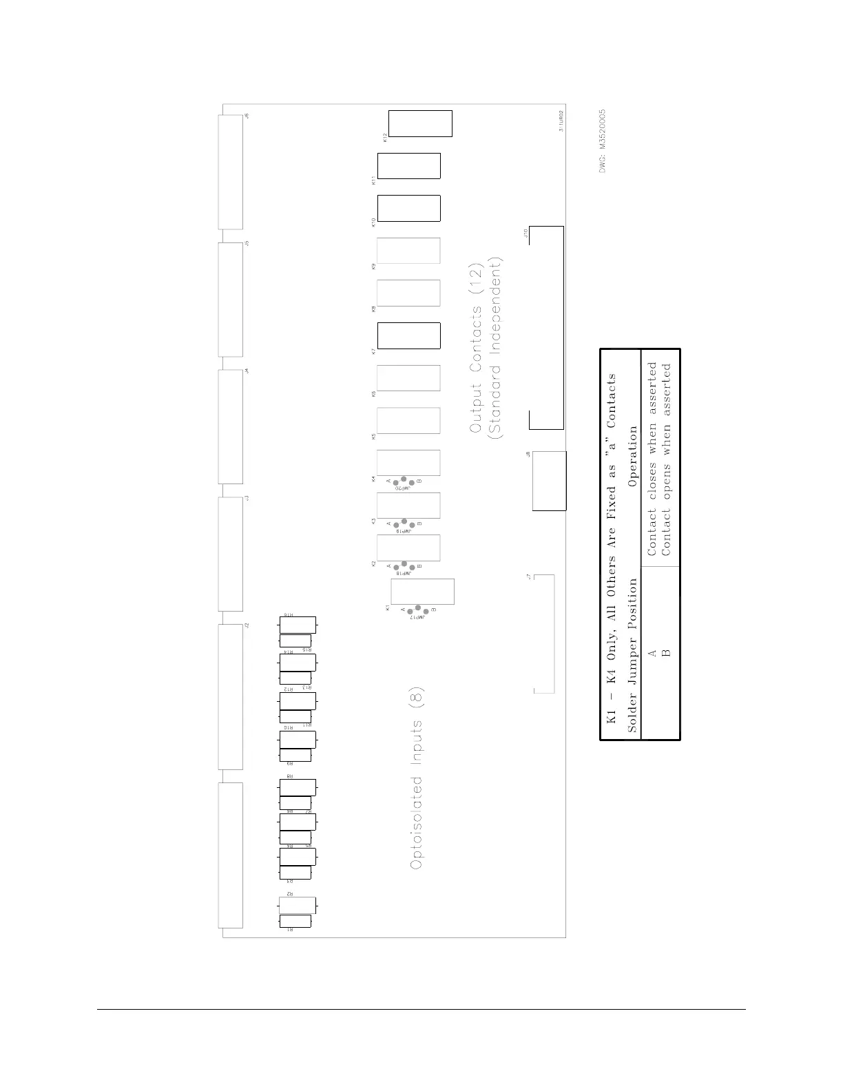
Figure 2.23: Interface Board 2 Component Layout (Plug-In Connector Version)

Table of Contents

Related product manuals