EasyManua.ls Logo

Schweitzer Engineering Laboratories SEL-387E - Dimensions and Cutout

Schweitzer Engineering Laboratories SEL-387E
578 pages
Print Icon
To Next Page IconTo Next Page
To Next Page IconTo Next Page
To Previous Page IconTo Previous Page
To Previous Page IconTo Previous Page
Loading...
2-2 Installation Date Code 20080110
SEL-387E Instruction Manual
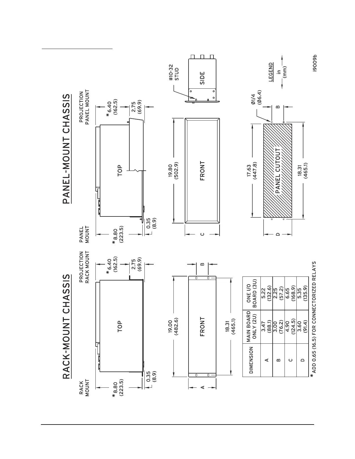
Dimensions and Cutout
Figure 2.1: Relay Dimensions and Panel-Mount Cutout

Table of Contents

Related product manuals