EasyManua.ls Logo

Shinko PCB1 - Input; Event Output EV1, EV2 and EV3; Insulated Power Output

Shinko PCB1
160 pages
Print Icon
To Next Page IconTo Next Page
To Next Page IconTo Next Page
To Previous Page IconTo Previous Page
To Previous Page IconTo Previous Page
Loading...
- 20 -
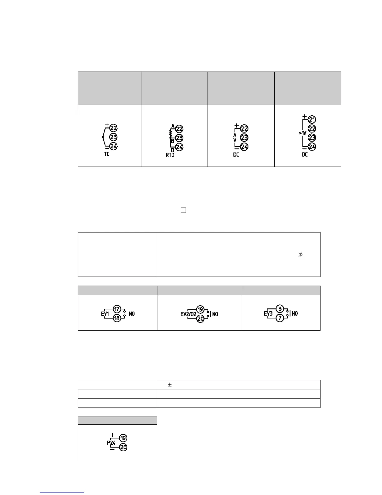
4.4.3 Input
Each input wiring is shown below.
Note: For DC voltage input, (+) side input terminal number of 0 to 5 V DC, 1 to 5 V DC, 0 to 10 V
DC differs from that of 0 to 1 V DC.
Thermocouple RTD
Direct current,
DC voltage
(0 to 1 V)
DC voltage
(0 to 5 V,
1 to 5 V,
0 to 10 V)
4.4.4 Event Output EV1, EV2 and EV3
Event output EV1 is a standard feature.
Event output EV2 is available when EV2 or EV3(DR) option is ordered.
Event output EV3 is available when EV3D or EI option is ordered.
Specifications of Event output EV1, EV2 and EV3 are shown below.
Relay contact 1a
Control capacity: 3 A 250 V AC (resistive load)
1 A 250 V AC (inductive load cos =0.4)
Electrical life: 100,000 cycles
Minimum applicable load: 10 mA 5 V DC
Event Output EV1 Event Output EV2
Event Output EV3
4.4.5 Insulated Power Output
If P24 option is ordered, the Insulated power output is available.
Specifications of Insulated power output are shown below.
Output voltage 24 3 V DC (When load current is 30 mA DC)
Ripple voltage Within 200 mV DC (When load current is 30 mA DC)
Max. load current 30 mA DC
Insulated Power Output

Table of Contents

Related product manuals