EasyManua.ls Logo

Simex multicon cmc-99 - Page 260

Simex multicon cmc-99
300 pages
Print Icon
To Next Page IconTo Next Page
To Next Page IconTo Next Page
To Previous Page IconTo Previous Page
To Previous Page IconTo Previous Page
Loading...
User Manual For - CONTROLLER/DATA RECORDER MultiCon CMC-99/141
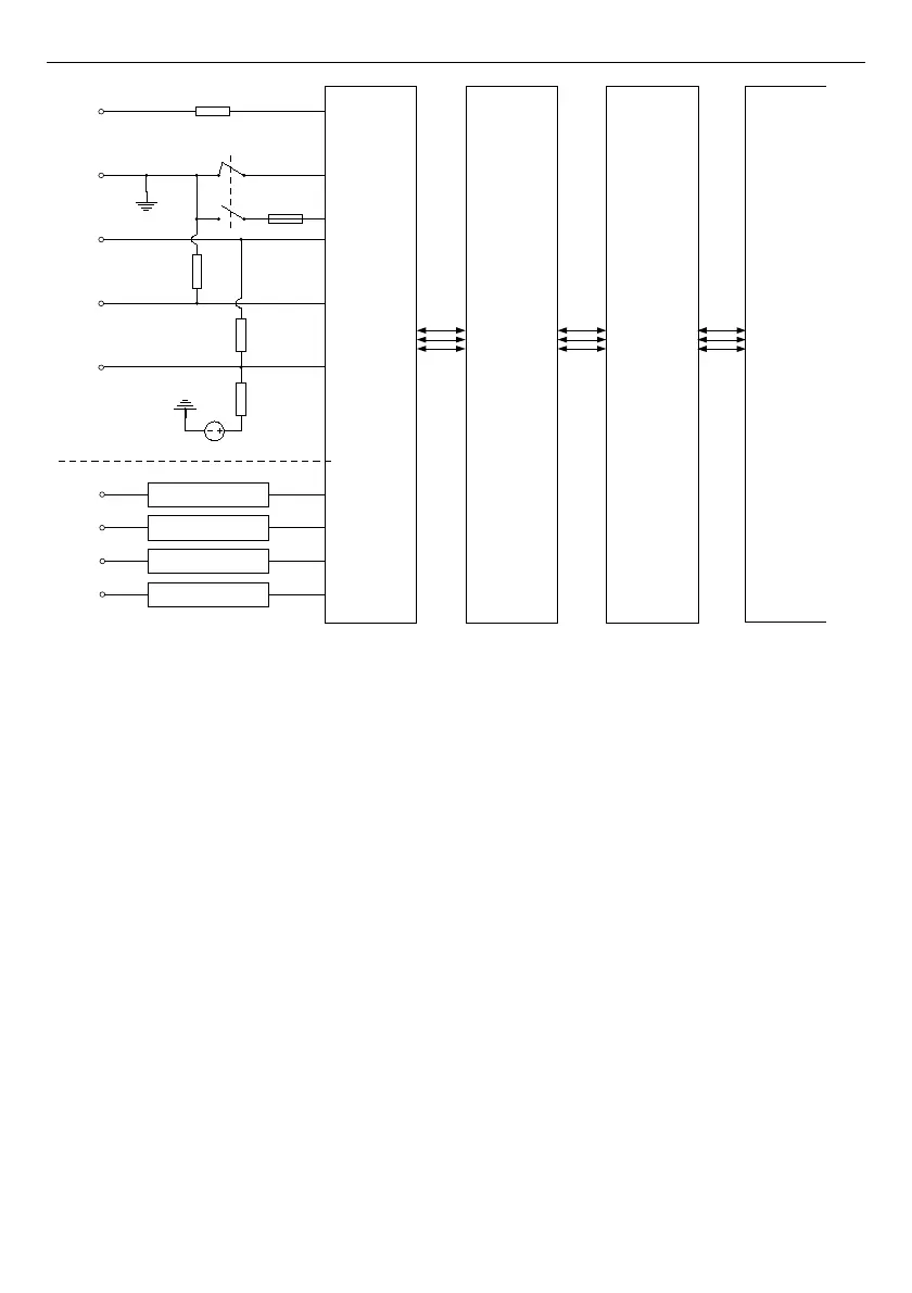
Fig. 8.16. Internal structure of the optoisolated Universal input module
260
Device
Galvanic
isolation
IN3
IN4
IN5
IN2
Measuring
system
Interface
n02
n01
n03
n04
n05
R=100k
R=3,3M
R=3,3M
R=2k
F 50mA
2V

Table of Contents

Related product manuals