EasyManua.ls Logo

Waters 2475 - User-selected diagnostic tests and settings

Waters 2475
228 pages
Print Icon
To Next Page IconTo Next Page
To Next Page IconTo Next Page
To Previous Page IconTo Previous Page
To Previous Page IconTo Previous Page
Loading...
User-selected diagnostic tests and settings 5-9
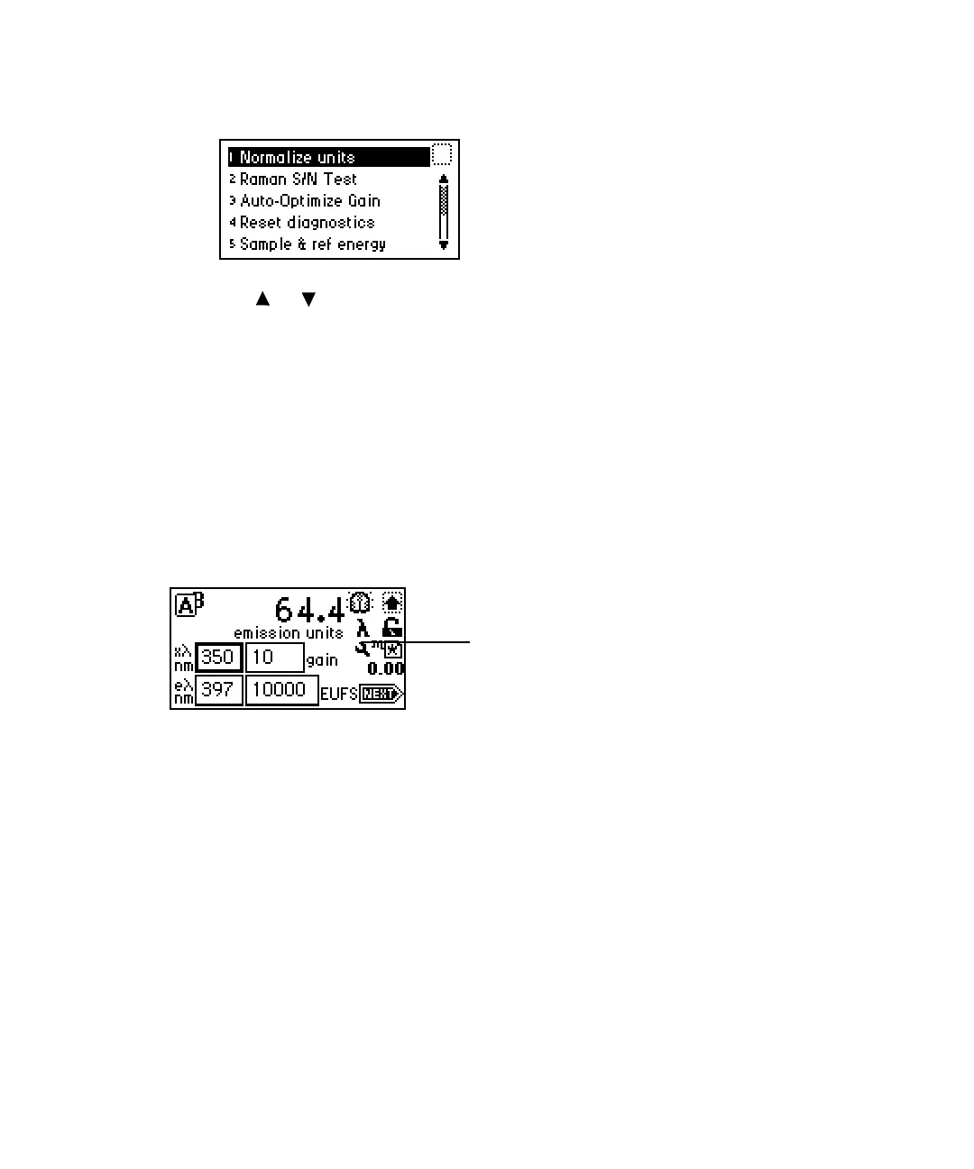
Test and settings list
2. Use or to select the test you want to run or setting you want to
change, and press Enter, or press a number from 1 through 8. Choices
that display other choices are indicated by >> (see the table titled “2475
detector diagnostic tests and settings” on page 5-10).
Sticky diagnostic settings
Sticky diagnostic settings remain in effect until you disable them. When a
sticky diagnostic test is active, the home screen displays a wrench icon. If no
tests are active, the wrench icon does not appear on the home screen.
Home screen showing active sticky diagnostic settings
To disable a specific sticky diagnostic setting, reset it to the default
settings.
To disable all active sticky diagnostic settings, press DIAG, then press 4
Reset diagnostics.
When you shut down the detector, all sticky diagnostic settings are
disabled.
You can select the following sticky diagnostic settings:
•Auto-optimize gain
Fix EU [Fix (set) fluorescence input]
Fix voltage [Fix (set) voltage outputs]
Generate test peaks
Wrench icon

Table of Contents

Related product manuals