EasyManua.ls Logo

Waters 2475 - Page 89

Waters 2475
228 pages
Print Icon
To Next Page IconTo Next Page
To Next Page IconTo Next Page
To Previous Page IconTo Previous Page
To Previous Page IconTo Previous Page
Loading...
Using the operator interface 3-17
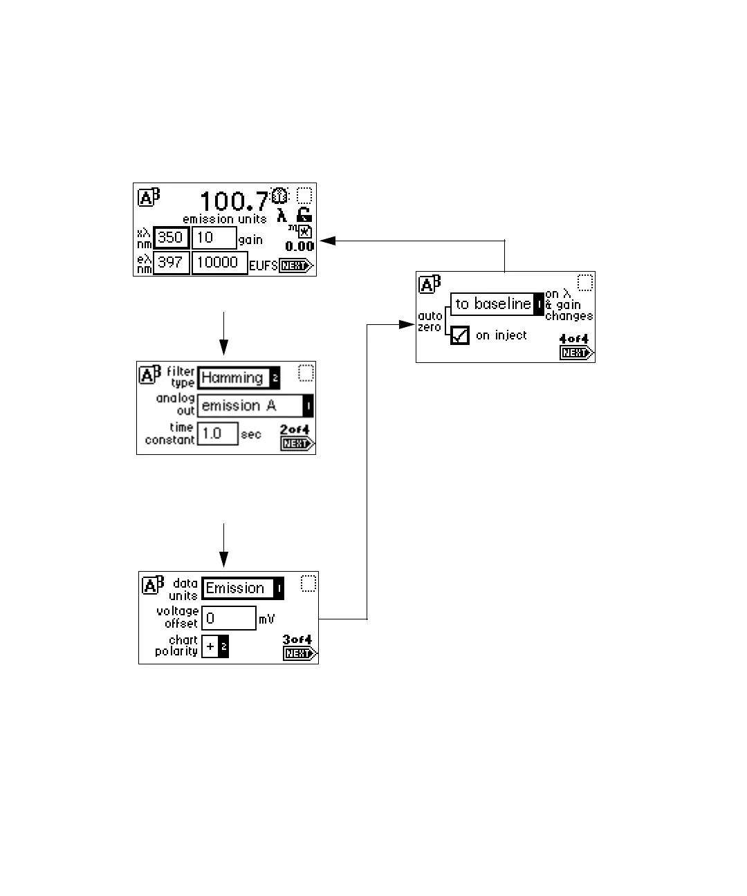
When you press Next, the detector displays three additional home screens,
labeled “2 of 4, “3 of 4”, and “4 of 4” (see the figure “Secondary functions of the
home screen” on page 3-17).
Secondary functions of the home screen
Fluorescence home screen
Press Next
filter type, analog out, and time
constant (available for both λ and
λλ)
Press Next
data units selection, voltage offset,
and chart polarity (available for
both λ and λλ)
Press Next
Press Next
auto zero-on-inject, gain, and λ
changes.

Table of Contents

Related product manuals