EasyManua.ls Logo

Yamaha 40V - Reed Valve and Check Valve; Exploded Diagram

Yamaha 40V
224 pages
Print Icon
To Next Page IconTo Next Page
To Next Page IconTo Next Page
To Previous Page IconTo Previous Page
To Previous Page IconTo Previous Page
Loading...
5-17
POWR
E
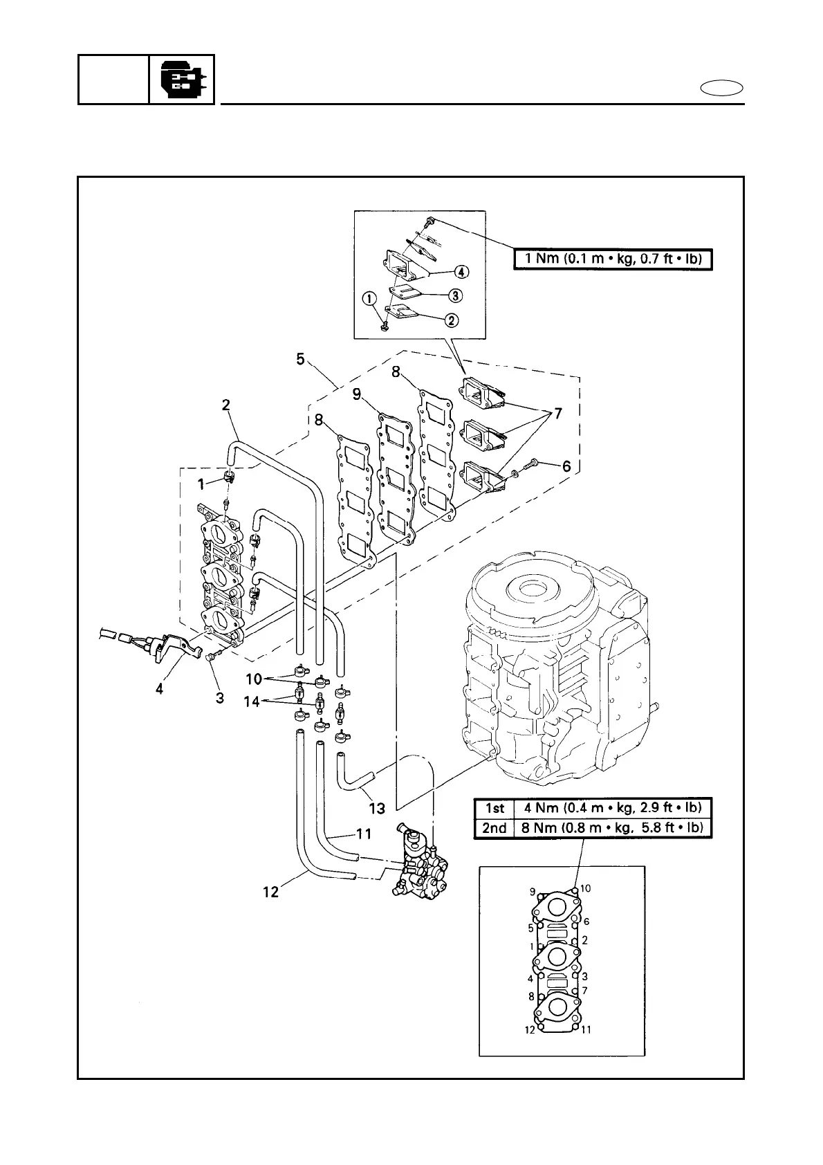
REED VALVE AND CHECK VALVE
REED VALVE AND CHECK VALVE
EXPLODED DIAGRAM

Table of Contents

Other manuals for Yamaha 40V

Related product manuals