EasyManua.ls Logo

Becker Traffic Pro 7945 - Page 141

Becker Traffic Pro 7945
189 pages
Print Icon
To Next Page IconTo Next Page
To Next Page IconTo Next Page
To Previous Page IconTo Previous Page
To Previous Page IconTo Previous Page
Loading...
141
Voice mode
X Say the command Scroll forwards.
The unit scrolls through the selection
list.
Scroll
You will hear a signal tone Ò.
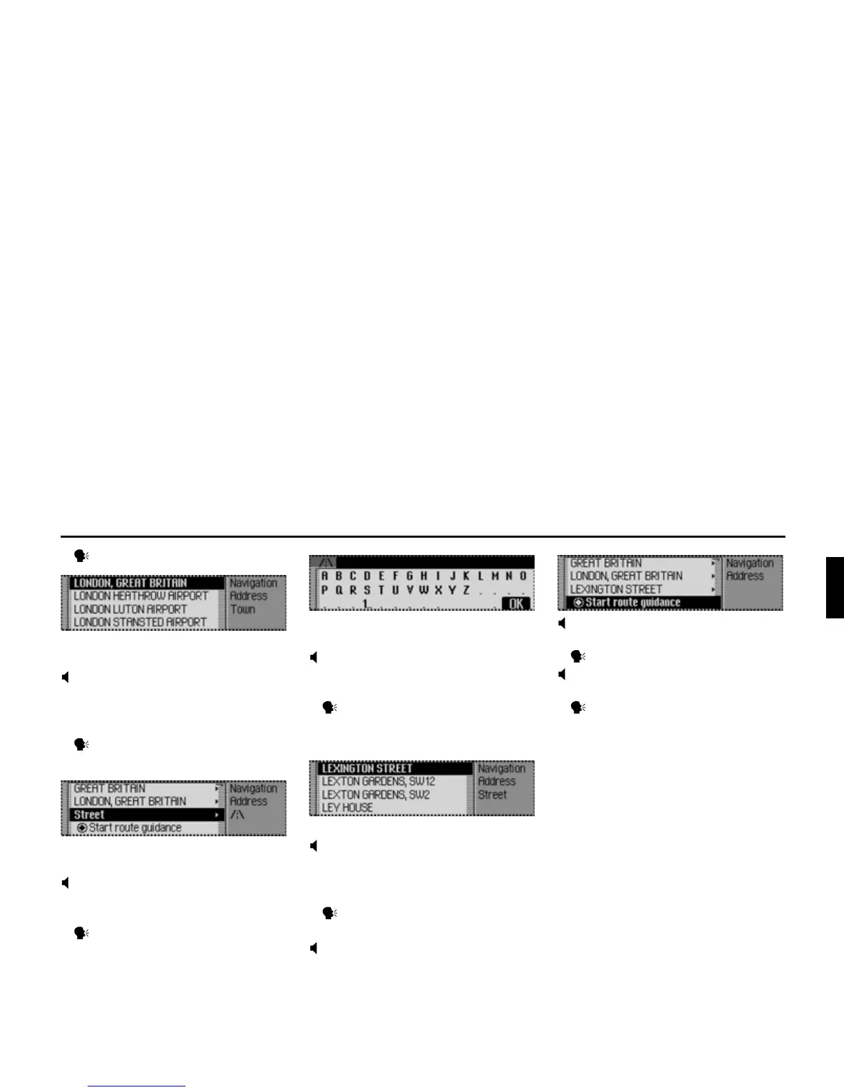
London is displayed in the first line.
X Say the command Accept line
number 1.
The destination input menu appears
again.
The town „LONDON“ is entered.
Would you like to enter a road?
You will hear a signal tone Ò.
X Say the command Yes.
The data entry menu for the road
appears.
Please say the first letter of the road.
You will hear a signal tone Ò.
X Spell out the first few letters of
Lexington Street L - E - X - I - N - G -
T - O - N.
The road selection list appears.
Please select the line number for the
road.
You will hear a signal tone Ò.
Lexington Street appears in the first line.
X Say the command Accept line
number 1.
The road „LEXINGTON STREET“ is
entered.
Would you like to enter a junction or a
house number?
X Say the command No.
Would you like to start route guidance
to London, Lexington Street?
X Say the command Yes.
Route calculation to the destination is
initiated.
9009
9010
9011
9012
9013

Table of Contents

Other manuals for Becker Traffic Pro 7945

Related product manuals