EasyManua.ls Logo

Cisco ONS 15454 - Page 34

Cisco ONS 15454
516 pages
To Next Page IconTo Next Page
To Next Page IconTo Next Page
To Previous Page IconTo Previous Page
To Previous Page IconTo Previous Page
Loading...
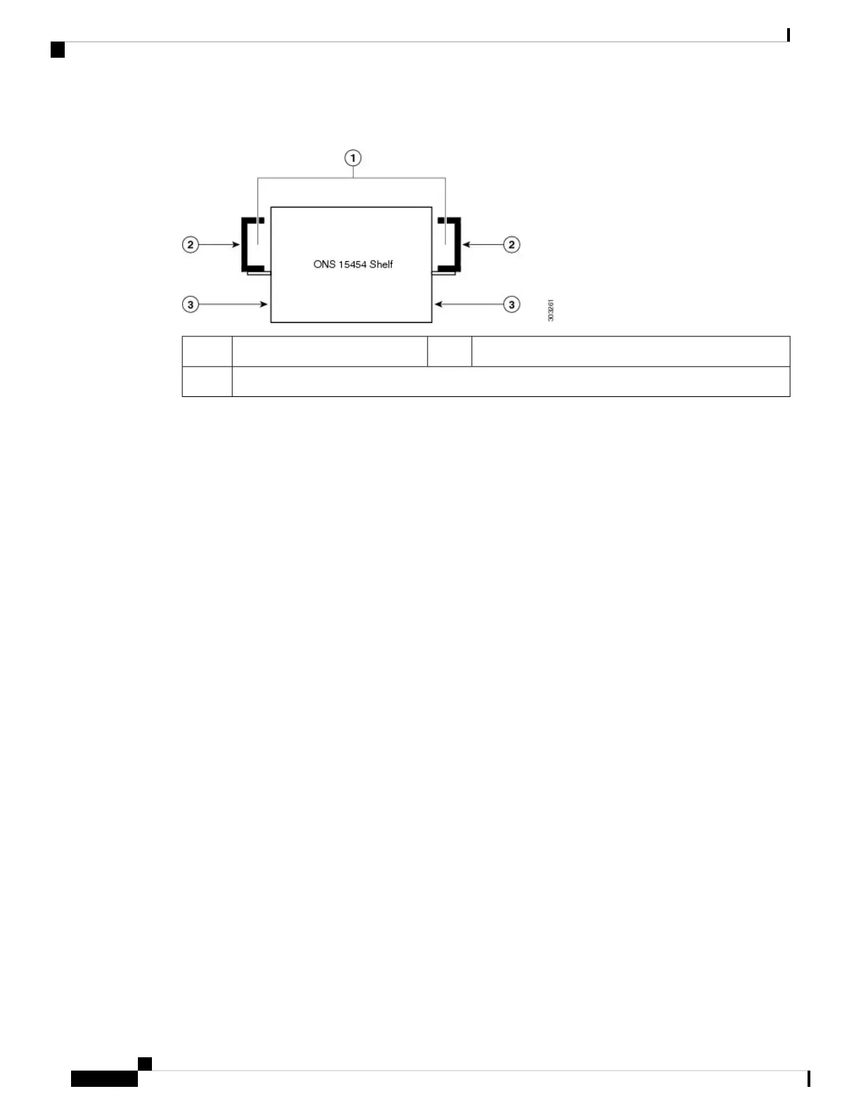
Figure 2: 19-inch Rack Opening for Air Flow
Rack2Empty space for air flow1
Shelf side wall3
For information on hardware and software specifications for the ONS 15454 ETSI shelf, refer to the ONS
15454 M2 Shelf Specifications, on page 471.
Cisco ONS 15454 M6 Shelf
The ONS 15454 M6 is designed to comply with Telcordia GR-1089-CORE, Issue 5.
The ONS 15454 M6 provides only Type 2 and Type 4 interfaces. A single ONS 15454 M6 shelf supports
both ANSI and ETSI standards.
The ONS 15454 M6 shelf has 8 horizontal card slots numbered 1 to 8. While Slot 2 to Slot 7 house MSTP
cards that provide 10 to 100 Gbps interconnections, Slot 1 and Slot 8 accommodate the TNC, TNCE, TSC,
TNCS-2, TNCS-2O, or TSCE cards (timing and control cards). The ONS 15454 M6 system can be powered
by redundant AC or DC power modules. A single power module (AC or DC) can be used to power up the
entire ONS 15454 M6 system. The ONS 15454 M6 system contains backup flash memory that supports the
database (DB) and image backup in the single mode operation.
The front door of the ONS 15454 M6 shelf allows access to the shelf, fan-tray assembly, fiber-routing area,
power connectors, external alarms and controls, timing input and output, and craft interface terminals. Two
types of front doors can be attached to the ONS 15454 M6 shelf—the standard door and the deep door. The
front door provides access to the shelf, and acts as a protective panel. The deep door provides additional space
in front of the shelf to accommodate cables that do not fit inside the standard door. The deep door does not
have a hinge and cannot be rotated like the standard door. The fiber or cable guide used in the ONS 15454
M6 shelf provides improved fiber management.
The ONS 15454 M6 is mounted on a 19-inch or 23-inch ANSI rack, or on a 600 x 600-mm or 600 x 300-mm
ETSI standard equipment rack. The rack mounting is done using the mounting brackets or air deflectors. The
air deflectors orient the air flow in a specific direction.
Depending on the position of the mounting bracket, the chassis may project to different distances outside the
rack. If the chassis projects outside the rack, the cabinet doors must be kept open (if present). The table below
displays the details below:
Cisco ONS 15454 Hardware Installation Guide
4
Overview
Cisco ONS 15454 M6 Shelf

Table of Contents

Other manuals for Cisco ONS 15454

Related product manuals