EasyManua.ls Logo

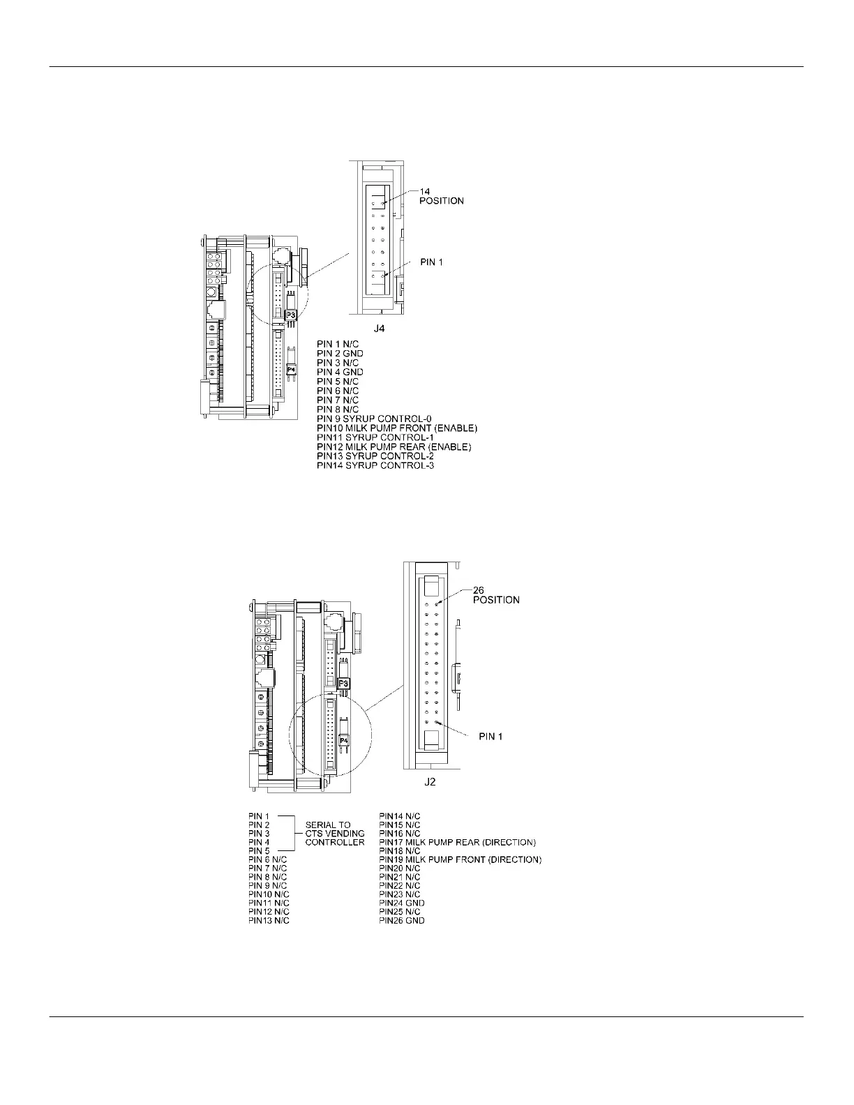
Concordia XPRESS - J4 and J2 Connectors

Concordia XPRESS
306 pages
Print Icon
To Next Page IconTo Next Page
To Next Page IconTo Next Page
To Previous Page IconTo Previous Page
To Previous Page IconTo Previous Page
Loading...
Section 3: Electrical 3033-003B
3-8 Concordia Xpress Technical Support Manual
2900-300B
J4
J2

Table of Contents

Related product manuals