EasyManua.ls Logo

Dodge Intrepid - Page 626

Dodge Intrepid
1050 pages
Print Icon
To Next Page IconTo Next Page
To Next Page IconTo Next Page
To Previous Page IconTo Previous Page
To Previous Page IconTo Previous Page
Loading...
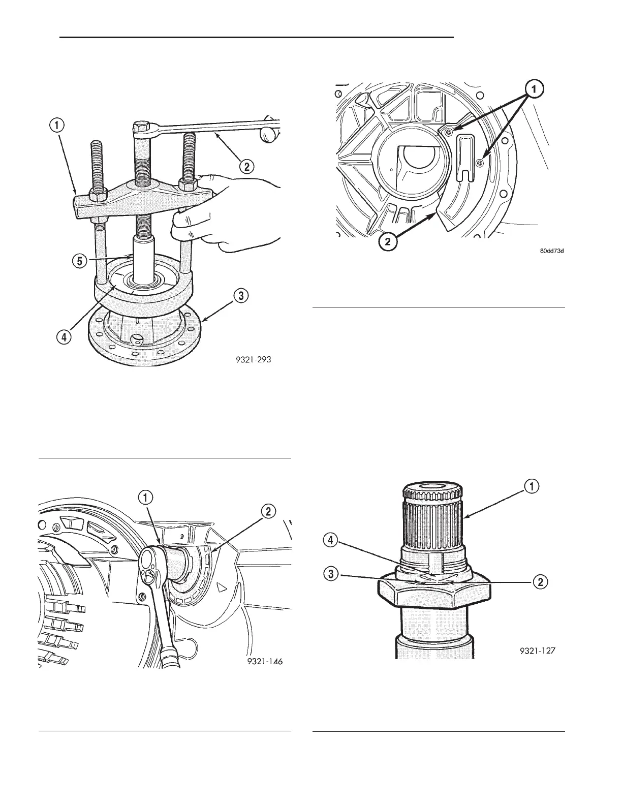
(7) Using tool C-293-PA, adapters C-293-48, and
adapter C-4996, remove differential carrier bearings
(Fig. 174).
(14) Remove inner adjuster (Fig. 175).
(15) Remove differential vent baffle (Fig. 176).
CAUTION: Failure to grind and open stakes on the
transfer shaft nut will result in thread damage to
transfer shaft during nut removal.
WARNING: WEAR SAFETY GOGGLES WHILE
GRINDING STAKE NUTS.
(16) Using a die grinder or equivalent, grind the
stakes in the shoulder of the shaft nut as shown in
(Fig. 177) and (Fig. 178). Do not grind through the
transfer shaft nut into the shaft. There are two
stakes on the nut.
Fig. 174 Carrier Bearing Removal
1 - SPECIAL TOOL C-293 PA
2 - WRENCH
3 - DIFFERENTIAL CARRIER
4 - SPECIAL TOOL JAWS (4)
C-293–48
5 - SPECIAL TOOL C-4996
Fig. 175 Remove Inner Adjuster By Turning
Clockwise
1 - SPECIAL TOOL 6502–B
2 - INNER DIFFERENTIAL ADJUSTER
Fig. 176 Differential Vent Baffle
1 - RETAINING SCREWS
2 - VENT BAFFLE W/SHIELD
Fig. 177 Grinding Stakes
1 - TRANSFER SHAFT
2 - GRIND HERE
3 - GRIND HERE
4 - NUT STAKE
LH TRANSAXLE 21 - 79
FINAL DRIVE (Continued)

Table of Contents

Other manuals for Dodge Intrepid

Related product manuals