EasyManua.ls Logo

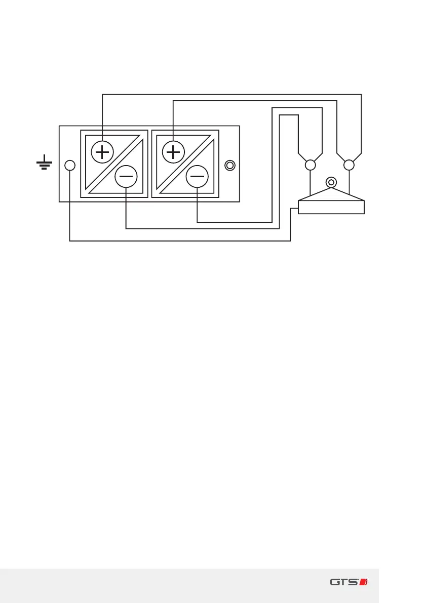
GTS iMAPLA series - Fig. 15. Connection Assignment at the Lifting Magnet Output Imapla 25 and 30

GTS iMAPLA series
168 pages
Print Icon
To Next Page IconTo Next Page
To Next Page IconTo Next Page
To Previous Page IconTo Previous Page
To Previous Page IconTo Previous Page
Loading...
Issue 08/2013 Page 40
MAPLA- Modular energy supply system for load lifting magnets
iMAPLA system description
Generator and controller
Load cable (s) to the magnet Lifting magnet
Gray
brown
black
blue
gn/ge
Fig. 15 Connection assignment at the lifting magnet output
iMAPLA25and 30

Table of Contents