EasyManua.ls Logo

HBM QuantumX - Page 170

HBM QuantumX
192 pages
Print Icon
To Next Page IconTo Next Page
To Next Page IconTo Next Page
To Previous Page IconTo Previous Page
To Previous Page IconTo Previous Page
Loading...
Real-time functions and outputs
170 A03031_24_E00_01 HBM: public QuantumX
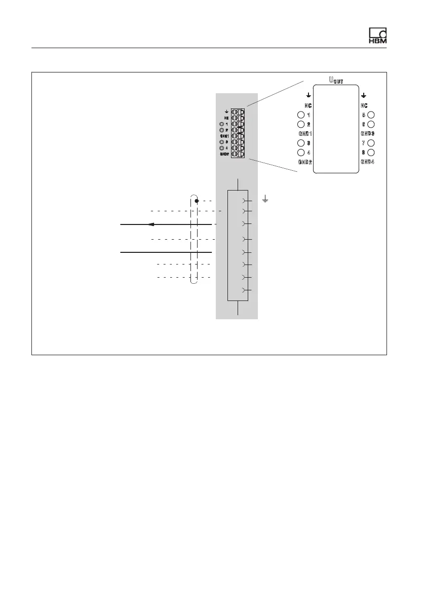
Analog output (1)
Nc
1 or 5
2 or 6
GND 1 or GND 3
3 or 7
4 or 8
Gnd 2 or Gnd 4
U1
Ground 1
1
2
3
4
5
6
7
8
Note:
GND 1: Terminals 1 and 2
GND 2: Terminals 3 and 4
GND 3: Terminals 5 and 6
GND 4: Terminals 7 and 8

Table of Contents

Other manuals for HBM QuantumX

Related product manuals