EasyManua.ls Logo

LNS TRYTON 112 - Cycling

LNS TRYTON 112
103 pages
Print Icon
To Next Page IconTo Next Page
To Next Page IconTo Next Page
To Previous Page IconTo Previous Page
To Previous Page IconTo Previous Page
Loading...
CHAPTER 8 : OPERATION 8 - 11
TRYTON 112 CNC
1
Note :
If the barrel is
empty, the
barfeeder
stops when
the jaws
clamp to
insert the bar
into the
pusher collet.
2
3
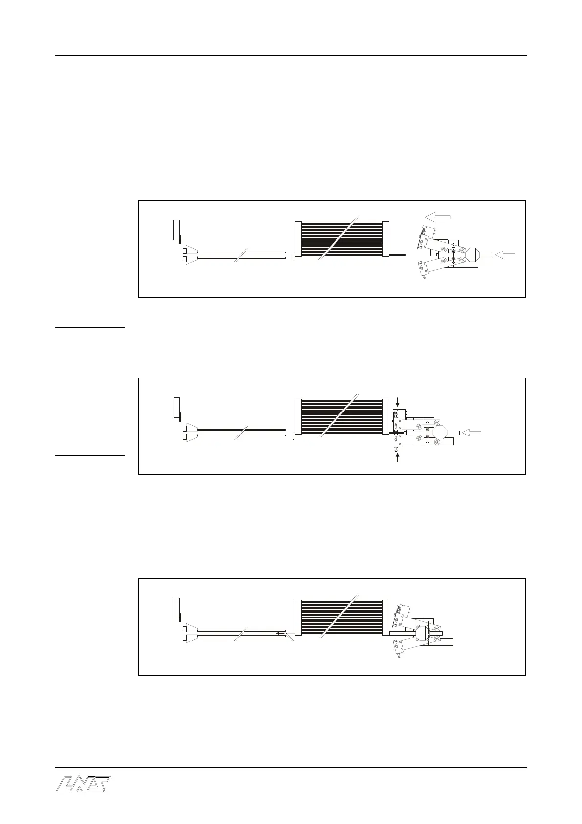
4.3 Cycling
Depending on the lathe configuration and the bar feed system, the automatic cycle may
vary.
1. The material is in the barrel, in the axis of the pusher and the spindle.
The mobile vice and the connector advance.
2. When the mobile vice reaches the end-stop, the cam separates the roller-bearings
and the jaws clamp on the rod. The connector advances and inserts the bar into the
pusher chuck jaw.
3. The mobile vice continues on its way and will move up against the barrel. The
hydraulic pump starts up and pushes the pusher into the barrel.
On leaving the barrel, the bar pushes the positioning stop and the measuring path
begins.

Table of Contents

Other manuals for LNS TRYTON 112

Related product manuals