EasyManua.ls Logo

Lucent Technologies DDM-2000 OC-3 - Page 2474

Lucent Technologies DDM-2000 OC-3
2536 pages
Print Icon
To Next Page IconTo Next Page
To Next Page IconTo Next Page
To Previous Page IconTo Previous Page
To Previous Page IconTo Previous Page
Loading...
363-206-285 Detailed Level Procedure: DLP-559
Issue 2, February 2000 Page 8 of 12
DDM-2000 OC-3 MULTIPLEXER
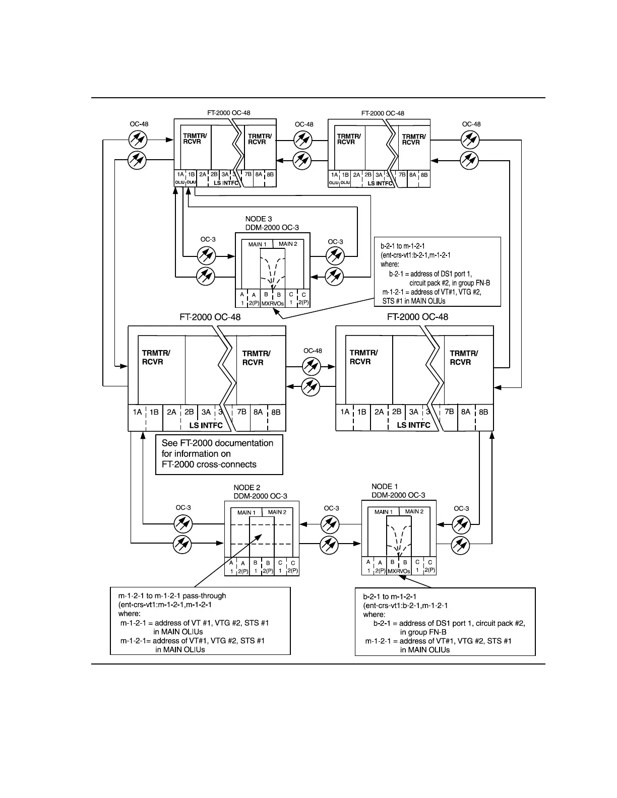
Figure 4 Example of Single/Dual Homing OC-48/OC-3 Cross-connections

Table of Contents

Other manuals for Lucent Technologies DDM-2000 OC-3

Related product manuals