EasyManua.ls Logo

PIAGGIO Beverly 500 i.e. - Rear Wheel

PIAGGIO Beverly 500 i.e.
382 pages
Print Icon
To Next Page IconTo Next Page
To Next Page IconTo Next Page
To Previous Page IconTo Previous Page
To Previous Page IconTo Previous Page
Loading...
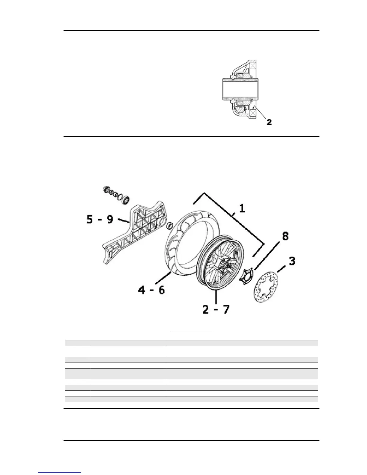
In the following points we indicate with an arrow
the area to be greased (1 - Drive, 2 - Tone wheel)
Rear wheel
REAR WHEEL
Code
Action Duration
1 001016 Rear wheel - Replacement
2 001071 Rear wheel rim - Removal and Refit-
ting
3 002070 Rear brake disc - Replacement
4 003063 Tyre pressure - Check
5 003077 muffler/rear shock absorber support
arm - Service
6 004126 Rear wheel tyre - Replacement
7 006018 Wheel rim - Paintwork
8 002028 Rear wheel hub - Replacement
9 003014 Rear suspension arm - Replacement
Beverly 500 i.e. Time
TIME - 375

Table of Contents

Related product manuals