EasyManua.ls Logo

Renesas RL78/F14 - Page 919

Renesas RL78/F14
1879 pages
Print Icon
To Next Page IconTo Next Page
To Next Page IconTo Next Page
To Previous Page IconTo Previous Page
To Previous Page IconTo Previous Page
Loading...
RL78/F13, F14 CHAPTER 15 SERIAL ARRAY UNIT
R01UH0368EJ0210 Rev.2.10 887
Dec 10, 2015
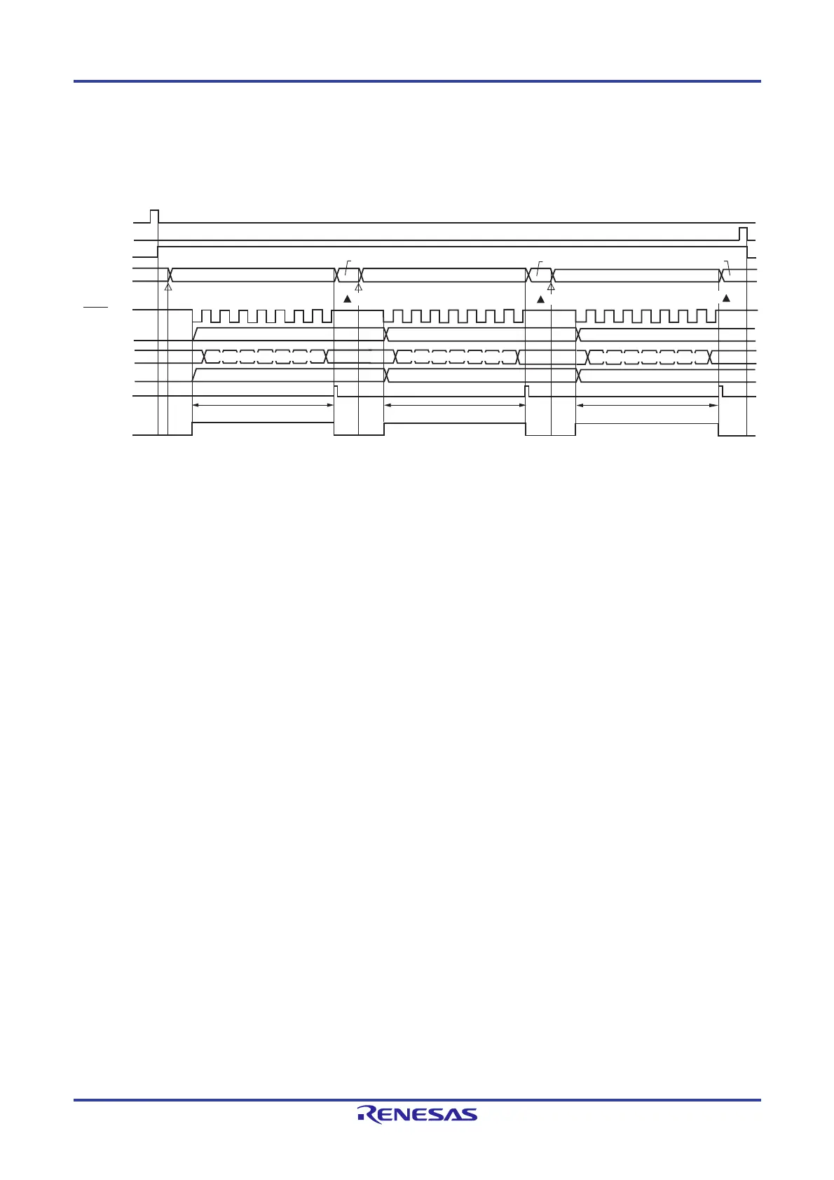
(3) Processing flow (in single-transmission/reception mode)
Figure 15-67. Timing Chart of Slave Transmission/Reception (in Single-Transmission/Reception Mode)
(Type 1: DAPmn = 0, CKPmn = 0)
Remark m: Unit number (m = 0, 1), n: Channel number (n = 0, 1), p: CSI number (p = 00, 01, 10, 11),
mn = 00, 01, 10, 11
SSmn
SEmn
SDRmn
SCKp pin
SIp pin
Shift
register mn
INTCSIp
TSFmn
SOp pin
STmn
Data transmission/reception (8-bit length)
Receive data 3
Receive data 2
Receive data 1
Transmit data 1
Transmit data 2 Transmit data 3
Receive data 2
Receive data 3
Write
Read
Write
Read
Read
Write
Transmit data 3
Transmit data 2
Transmit data 1
Reception & shift operation
Reception & shift operation
Reception & shift operation
Receive data 1
Data transmission/reception (8-bit length)
Data transmission/reception (8-bit length)

Table of Contents

Related product manuals