EasyManua.ls Logo

Ricoh D025 - Paper End Detection (Paper Feed Side)

Ricoh D025
1522 pages
Print Icon
To Next Page IconTo Next Page
To Next Page IconTo Next Page
To Previous Page IconTo Previous Page
To Previous Page IconTo Previous Page
Loading...
Paper End Detection (Paper Feed Side)
SM 19 D352
LCT PB3050
D352
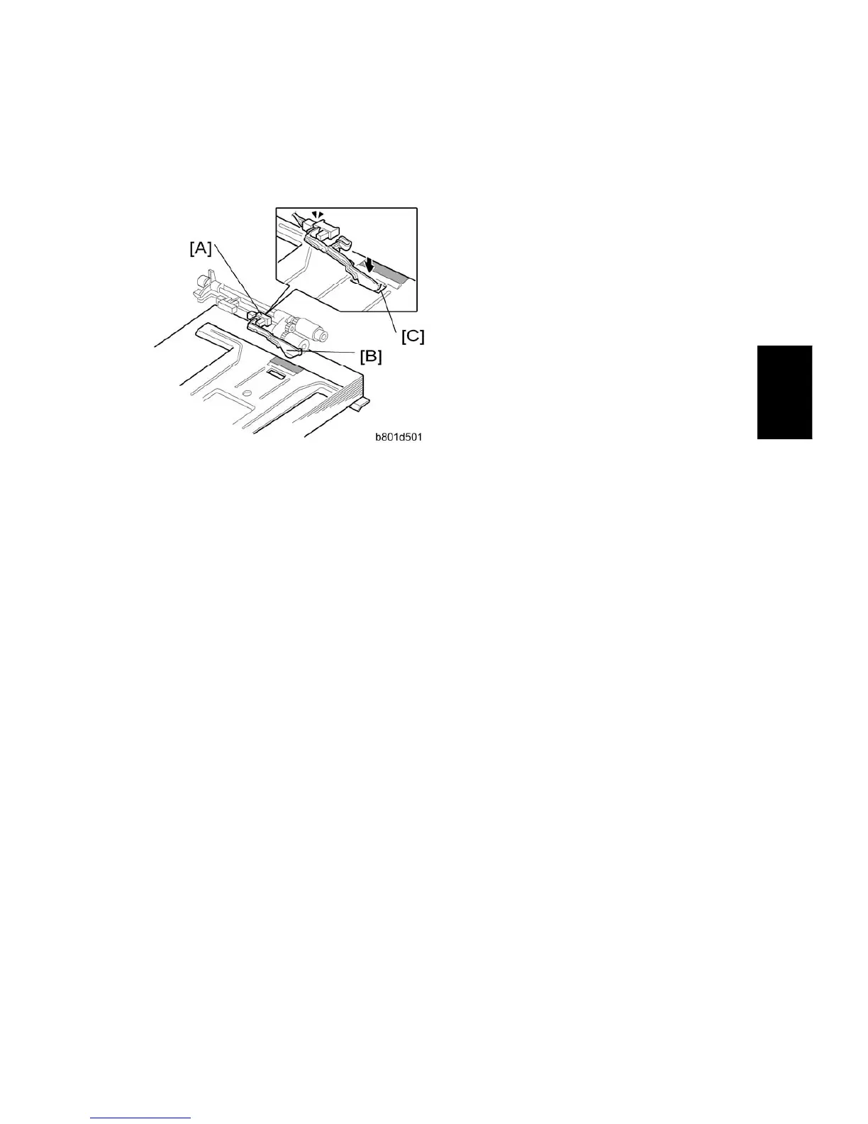
2.5 PAPER END DETECTION (PAPER FEED SIDE)
The paper end sensor 1 [A] detects when copy paper in the paper feed side runs out.
When there is paper in the tray, the paper pushes up the feeler [B] and the actuator enters
the sensor. When paper runs out, the feeler drops in to cutout [C] and the actuator leaves
the sensor, and the machine detects that there is no paper in the tray.

Table of Contents

Related product manuals