EasyManua.ls Logo

Ricoh D025 - Tray Lift Mechanism

Ricoh D025
1522 pages
Print Icon
To Next Page IconTo Next Page
To Next Page IconTo Next Page
To Previous Page IconTo Previous Page
To Previous Page IconTo Previous Page
Loading...
Paper Feed
SM 17 D353
1200 Sheet
LCT RT3000
D353
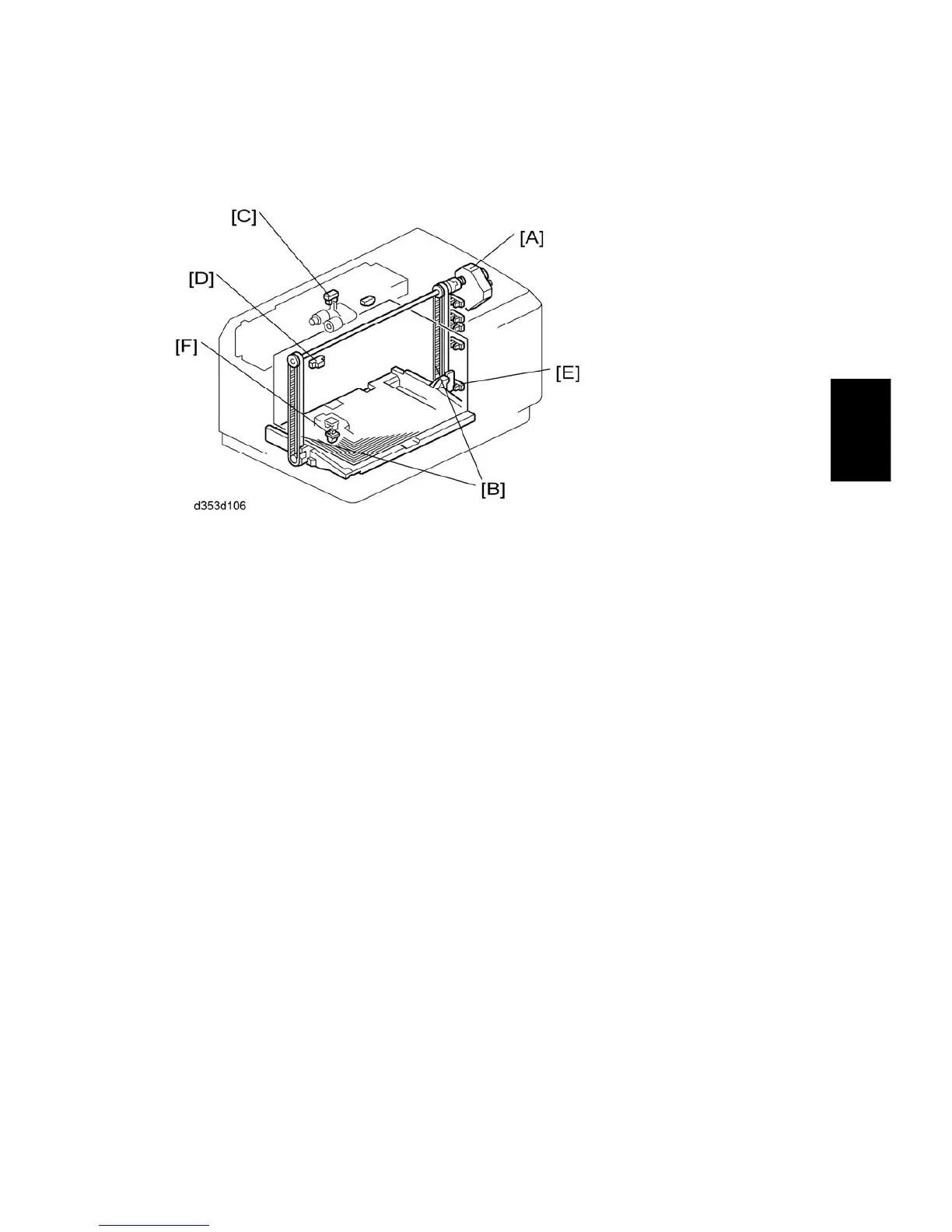
2.2.2 TRAY LIFT MECHANISM
The lift motor [A] controls the vertical position of the tray through the timing belts [B].
Tray lifting conditions
When the tray lift sensor [C] turns off in the following conditions, the tray lift motor raises the
tray bottom plate until the tray lift sensor [C] turns on again.
Just after the main switch is turned on
During copying
Just after the tray cover is closed
Just after leaving the energy saving mode
Tray lowering conditions (Paper supply position)
In the following conditions, the tray lift motor lowers the tray until the stack sensor [D] turns
on (this is the correct tray position for supplying paper).
Just after the paper end sensor turns on
Just after the down switch is pressed by the user
Tray lowering conditions (Full-down position)
In the following condition, the tray lift motor lowers the tray until the lower limit sensor [E]
turns on (this is the correct tray position for adding 500 sheets of paper after installing the
first stack of paper in the LCT tray).
Just after the down switch [F] is pressed for 3 seconds or more when the tray is at the
paper supply position.

Table of Contents

Related product manuals