Home
SpectraLink
Server
IP-DECT SERVER 6500
Installation And Configuration Guide
Page 96 (Measurements and Mounting Template)
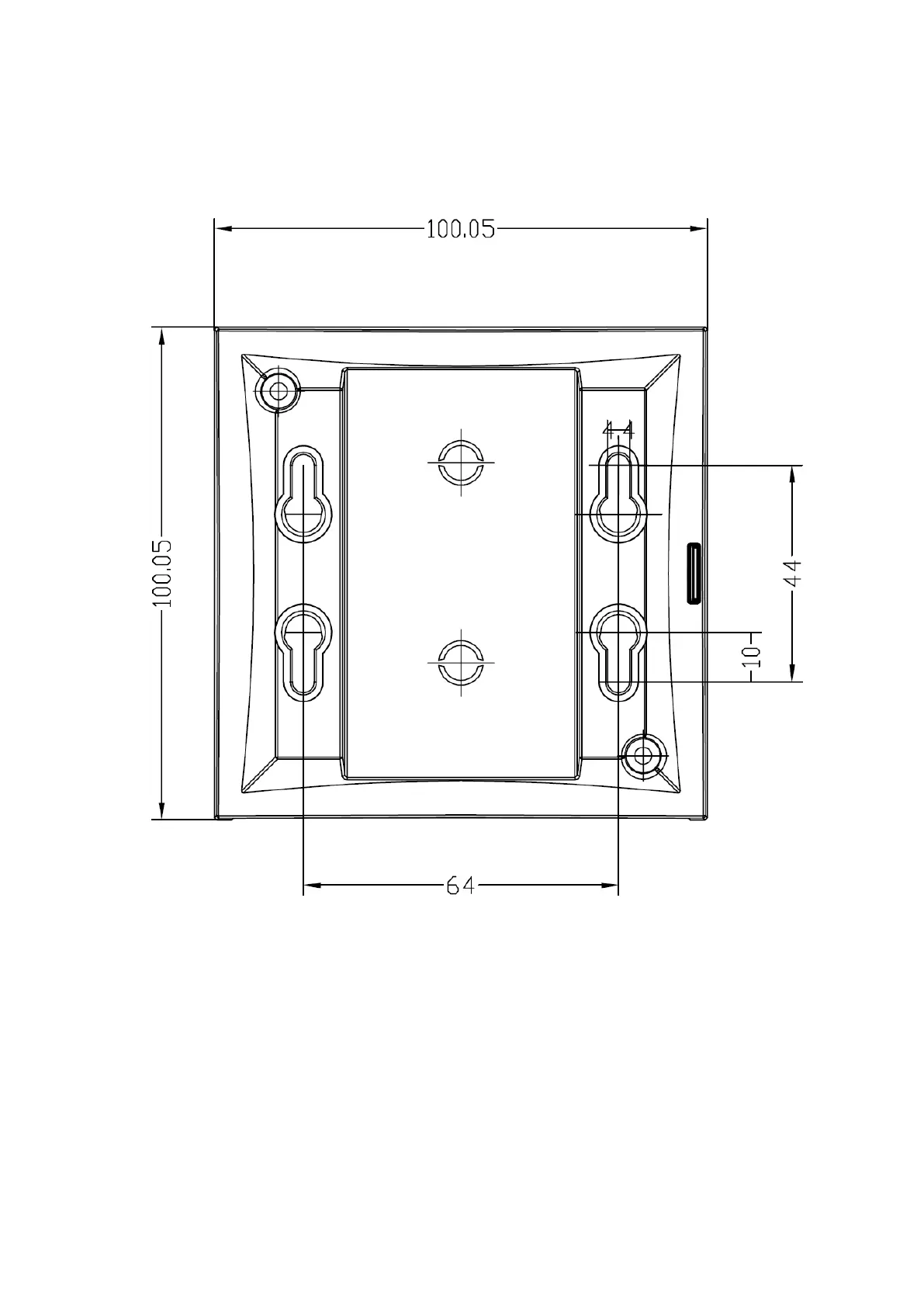
SpectraLink IP-DECT SERVER 6500 - Measurements and Mounting Template
456 pages
Manual
Save Page as PDF
To Next Page
To Next Page
To Previous Page
To Previous Page
Loading...
14215
700-
I
G,
Edi
tion
15.0
May
2020
,
Or
igi
nal
document
96
Measurements
an
d
Moun
ti
n
g
T
emplat
e
Measur
ement
s
i
n
Mil
l
i
met
ers
Spectrali
nk
IP-D
EC
T
Ser
ver
2
00/40
0/6500
a
nd
Vi
r
tual
IP-
D
ECT
Ser
ver
One
Install
at
i
on
and
C
onf
i
gur
a
ti
on
Gui
de
95
97
Table of Contents
Main Page
Default Chapter
3
Table of Contents
3
About this Guide
11
Important Information before You Begin
11
Related Documentation
12
Terminology and Acronyms
13
About DECT
17
DECT Frequency Bands
17
Spectralink IP-Dect/Virtual IP-DECT Server Solution
18
Types of Servers
18
Description - Spectralink IP-DECT Server 6500
20
Description - Spectralink Virtual IP-DECT Server One
21
Other Solution Components
24
Description - Spectralink DECT Media Resource
25
Description - Spectralink Virtual IP-DECT Media Resource
26
Description - Spectralink IP-DECT Base Station
27
Description - Spectralink DECT Repeater
28
Description - External Antenna
29
System Capacity Overview
30
System Capacity - Servers
30
System Capacity - Media Resources
31
Spectralink Server Solution Overview and Comparison
32
Product Overview
32
Spectralink Handset Portfolio Overview
33
Total Configuration Overview
33
Server Comparison Matrix
34
Base Station Comparison Matrix
36
Configuration Overview - Spectralink IP-DECT Server 6500
40
Configuration Overview - Spectralink Virtual IP-DECT Server One
41
Communication Ports - Spectralink IP-DECT Server
42
Communication Ports - Spectralink IP-DECT Server 400/6500
43
Communication Ports - Spectralink Virtual IP-DECT Server One
45
Service Codes - Spectralink IP-Dect/Virtual IP-DECT Server
46
Licenses
47
Licenses for Spectralink IP-DECT Server 200
47
Licenses for Spectralink IP-DECT Server 400/6500
49
Licenses for Spectralink Virtual IP-DECT Server One
58
Ordering Licenses
61
To Order Licenses for Spectralink IP-DECT Servers
61
To Order Licenses for Spectralink Virtual IP-DECT Server One
61
Loading Licenses
62
Installation Requirements
63
Requirements for Spectralink IP-DECT Server 200/400
63
Requirements for Spectralink IP-DECT Server 6500 and Spectralink
63
DECT Media Resource
63
Environmental Requirements
63
Requirements for Spectralink Virtual IP-DECT Server One and Spectralink Virtual IP-DECT Media Resource
64
Software Requirements
64
Requirements for Spectralink IP-DECT Base Station and Spectralink DECT Repeater
65
Environmental Requirements
65
Power Requirements
65
Requirements for Spectralink DECT Handset
66
Requirements for Handset and Repeater Management Tool
66
Software Requirements
66
Installation Prerequisites
67
About ARI and IPEI Identification
68
Identifying IPEI on Spectralink Handset
68
Identifying ARI on Spectralink IP-Dect/Virtual IP-DECT Server
69
Installing Spectralink IP-DECT Server 200
70
Power Requirements for the Spectralink IP-DECT Server
70
Spectralink IP-DECT Server 200 Appearance and Components
71
Spectralink IP-DECT Server 200 LED Indicators
72
Front Cover
72
LAN Port on Face Plate
72
Spectralink IP-DECT Server 200 Reset Button
72
Wall-Mount and Power on the Spectralink IP-DECT Server
73
Measurements and Mounting Template
75
Installing Spectralink IP-DECT Server 6500 and Spectralink DECT Media Resource
78
Server Appearance and Components
78
Spectralink IP-DECT Server 6500 and Media Resource LED Indicators
79
Spectralink IP-DECT Server 6500 and Media Resource Reset Button
80
Resetting or Restarting the Spectralink IP-DECT Server and Spectralink DECT Media Resource
80
Mounting in a Rack
80
Adding Additional Spectralink DECT Media Resources
81
How to Add a Spectralink DECT Media Resource
82
Deploying Spectralink Virtual IP-DECT Server One and Spectralink Virtual IP- DECT Media Resource on Vmware Esxi
85
Tralinkvirtualip-Dectmediaresourceonvmwareesxi 85
86
Deploying a Spectralink Virtual IP-DECT Server (or Spectralink Virtual IP-DECT Media Resource)
86
Installing Spectralink IP-DECT Base Station
90
Power Requirements for the Base Station
90
Base Station Appearance and Components
91
Base Station LED Indicators
93
Front Cover
93
LAN Port on Face Plate
93
Base Station Reset Button
93
Mounting the Base Station
94
Wall Mounted (Vertical) Installation RF Coverage
94
Measurements and Mounting Template
96
Installing Spectralink DECT Repeater
98
Repeater Appearance and Components
99
Repeater LED Indicators
100
Front Cover
100
Site Installation Considerations
100
Environmental Considerations
100
How to Wall Mount the Repeater
101
Measurements and Mounting Template
102
Programming a Spectralink DECT Repeater with the Repeater Programming Kit
103
Content of the Spectralink Repeater Programming Kit
103
Set up of the Hardware for Repeater Programming
104
Programming the Spectralink DECT Repeater with the Handset and Repeater Management Tool
104
Numbering of Base Stations/Server 200/400 and Repeaters in a Normal Con- Figuration
105
Numbering of Repeaters in a Repeater Daisy Chain Configuration
106
Using the Spectralink DECT Repeater with External Antenna
107
Alternative Synchronization Ways
108
Using Spectralink IP-DECT Server 200/400 and Spectralink IP-DECT Base Station with External Antenna
109
How to Connect External Antenna to Device
112
Configuration Steps Overview
113
Configuring Spectralink IP-Dect/Virtual IP-DECT Server and Spectralink Dect/Virtual IP-DECT Media Resource Solution
115
Recommended Network Configuration
116
Assigning DHCP Server Options
117
Discovering Spectralink IP-Dect/Virtual IP-DECT Components on the Network
119
Assigning DHCP Server Reservations
119
Accessing the Web Based Administration Page
120
Password
120
About the Main Page of the Web Based Administration Page
121
Configuring Network Settings
124
To Configure a Dynamic IP Address
125
To Configure a Static IP Address and Other Network Settings
126
Simple Network Management Protocol (SNMP)
130
Configuring Security Settings and Changing System Password
133
Strict Password Requirements
135
Configuring SIP and IP-PBX Settings
136
To Configure SIP Settings
136
Configuring Wireless Server Settings
145
To Configure Wireless Server Settings
145
Spectralink IP-DECT Base Station Configuration Methods - Considerations
158
Configuring Media Resource Settings
168
Configuring Certificates
169
Creating a Host Key
172
Creating a Host Certificate Signing Request (CSR)
172
Downloading a Root CA Certificate
173
Signing a Host Certificate with the CA Certificate
174
Importing the Host and CA Certificates
174
Configuring Sites (and Zones)
175
Defining a Site for the Media Resource and Base Stations
177
Assigning Media Resources to Sites
179
Assigning Base Stations to Sites
181
Assigning Server Address to Spectralink IP-DECT Base Station and Spectralink DECT Media Resource/Spectralink Virtual IP-DECT Media Resource
185
Manually IP-DECT Server Address Configuration for Base Stations
185
Manually IP-DECT Server Address Configuration for Media Resources
186
Administration of Spectralink IP-DECT Base Stations
187
Using Multicast for LAN
188
LAN Based Synchronization
188
Connecting Base Station to System
188
Radio Based Synchronization
189
Manual Configuration of Radio Synchronization
189
Automatic Configuration of Radio Synchronization
192
LAN Based Synchronization (License Required)
194
Precision Time Protocol Background
194
Configuration Settings through the Web Based Administration Page
194
Description - Spectralink IP-DECT Server
200
Configuration Overview - Spectralink IP-DECT Server
200
Checking Sync State of Spectralink IP-DECT Base Station
206
Checking LAN Sync Performance of Spectralink IP-DECT Base Station
207
Checking for Loops
210
Verifying Correct Base Station Assignment to Site
210
Bulk Changing Synchronization Type
210
Registering Users and Subscribing Spectralink DECT Hand- Sets
211
Registering a User
211
To Register/Create a New User
211
Subscribing a Spectralink DECT Handset
216
Replacing Spectralink DECT Handset as Admin Rights User from the Handset
217
To Replace a Handset
217
Handset Management
219
User List Information
221
Tasks to Perform from User List
222
To View or Change Handset/User Configuration
222
To Get Information about Site and Zone
223
To Search Handset/User Information
223
To Disable/Enable User
223
To Delete User
224
To Re-Register User
224
To Un-Subscribe User
224
To Update Handset Firmware
225
Import/Export of Users or Delete Users
226
Managing Handset Configuration and Configuration Groups
227
Handset Configuration Steps Overview
229
Creating a Handset Configuration XML File
230
Assigning Configuration Groups (Group Ids) to Users
233
Uploading or Updating the Handset Configuration XML File
234
Creating a .Ver File if Using Provisioning
238
System Management
240
Making a Back-Up and Restore of System
241
To Make a Back-Up or Restore of Configuration File
241
Updating Firmware
242
To Update Spectralink IP-Dect/Virtual IP-DECT Server Firmware
243
To Update Spectralink IP-DECT Base Station Firmware
245
To Update Spectralink DECT Media Resource/Spectralink Virtual IP-DECT Media Resource Firmware
248
To Update Spectralink DECT Handset Firmware over the Air (SUOTA)
250
Restarting System or Block Calls During Firmware Update
252
To Restart System or Block New Calls
252
Reading System Information
253
General Status Information
253
Logs Information
256
Wireless Server Information
257
Statistics
258
Changing Administration Password
265
Resetting System to Factory Settings
268
To Reset System
268
Exporting/Importing Server Configuration File
269
To Import/Export Configuration File
269
To Create a Configuration File for Merging
270
Disabling Web Based Administration Page
271
To Disable Web Based Administration Page of Base Station
271
To Disable Web Based Administration Page of Server
272
Deleting Licenses
273
Oam Rest Api
275
Messaging over MSF
276
XML-RPC SDK Documentation
276
Broadcast Messaging
277
Broadcast Messaging Support Matrix
277
Components Supporting Broadcast Messaging
278
System Broadcast Messaging Capacity
279
Broadcast Messaging Handset Management
280
Configuring Broadcast Messaging
280
Third-Party Application
280
Frequency Swap Support
281
Handset 7212 Supporting Frequency Swap (Part No. 02610004)
282
Redundant System Configuration
283
Firmware Compatibility (Redundancy)
284
Design of Redundant Server Solution
284
How this Works
285
Configuring Redundancy
286
Redundancy Licenses Generation - Spectralink IP-DECT Server 6500
286
Redundancy Licenses Generation - Spectralink Virtual IP-DECT Server One
294
Configuring a Master Spectralink IP-DECT Server 6500/Spectralink Virtual IP-DECT Server One
296
Configuring a Backup Spectralink IP-DECT Server 6500/Spectralink Virtual IP-DECT Server One
299
Configuring Base Station and Media Resource in a Redundant Solution
302
Administration Scenarios
303
Upgrading an Existing Spectralink IP-Dect/Virtual IP-DECT Server Solution into a Redundant Solution
303
Temporary Failure on the Master Spectralink IP-Dect/Virtual IP-DECT Server
303
Permanent Failure on the Master Spectralink IP-Dect/Virtual IP-DECT Server
303
Failure on the Backup Spectralink IP-Dect/Virtual IP-DECT Server
304
Configuring Company Phone Book/Directory
305
To Get Phone Book Data through LDAP Server, CSV File or Broadworks
306
Example of CSV File Format
311
Example of LDAP Configuration
311
Handset Sharing
312
Handset Sharing - Firmware Compatibility
314
Adding Handset Sharing License
315
Configuration of Handset Sharing
315
User Sign-In/Sign-Out
316
Configuring Handset Login
317
Signing into a Device from the Handset
328
Signing out from a Device from the Handset
328
Adding Devices to Server
329
Adding Users to Server
332
Handset Sharing and Provisioning
333
Handset Sharing Setup Examples
333
Example of Setting up Handsets for Handset Sharing
336
Product Compatibility
337
Technical Specification
346
Spectralink IP-DECT Server 200
347
Spectralink IP-DECT Server 6500
354
Spectralink Virtual IP-DECT Server One
357
Spectralink IP-DECT Base Station
359
Spectralink DECT Repeater
361
Spectralink External Antenna
362
Troubleshooting
363
Packet Capture
363
Network Diagnose
364
Insufficient Software Assurance Licenses
365
Parameter Overview
366
Status - General
366
Status - Logs
368
Status - Wireless Server
369
Status - Packet Capture
370
Status - Network Diagnose
370
Configuration - General
371
Configuration - Wireless Server
374
Configuration - Media Resource
384
Configuration - Security
385
Configuration - Certificates
387
Configuration - SIP
388
Configuration - Redundancy
395
Configuration - Provisioning
396
Configuration - Import/Export
399
Description - Spectralink IP-DECT Server
400
Configuration Overview - Spectralink IP-DECT Server
400
Installing Spectralink IP-DECT Server
400
Users - List Users - User
400
Users - List Devices - Device
404
Users - List User - Handset Firmware Update
405
Users - Import/Export
406
Users - Handset Configuration
407
Administration - Wireless Server
408
Administration - License
409
Administration - Media Resource - Media Resource
410
Administration - Base Station - Base Station
411
Administration - Sites - New Site
413
Administration - Phonebook
414
Administration - Backup
417
Firmware - Wireless Server
417
Firmware - Media Resource
418
Firmware - Base Station
419
Firmware - Handset
421
Appendix A - Intercom (Push-To-Talk)
422
Activation of Intercom Using Headers
422
Appendix B - Example of Handset Registration Data - CSV Format
423
Appendix C - Handset Configuration XML File Example
424
Appendixd
432
Description of Handset Configuration Parameters
432
Appendix E - Acoustic Echo in Telephone System
454
Handling Acoustic Echo
454
Spectralink DECT Handset Handling of Acoustic Echo
455
How Settings Influence on Spectralink DECT Handset
456
Recommended Echo Canceller Settings
456
Other manuals for SpectraLink IP-DECT SERVER 6500
Manual
29 pages
Deployment Guide
32 pages
Synchronization And Deployment Guide
36 pages
Specifications
2 pages
Interoperability Guide
31 pages
Related product manuals
SpectraLink IP-DECT Server 200
29 pages
SpectraLink IP-DECT Server 400
29 pages
SpectraLink IP-DECT 200
264 pages
SpectraLink 6500
126 pages
SpectraLink K005
21 pages
SpectraLink K007
13 pages