EasyManua.ls Logo

WinGD RT-flex50DF - Toothed Rack − Removal

Default Icon
586 pages
Print Icon
To Next Page IconTo Next Page
To Next Page IconTo Next Page
To Previous Page IconTo Previous Page
To Previous Page IconTo Previous Page
Loading...
Maintenance
55561/A1
Winterthur Gas & Diesel Ltd.
5/ 13
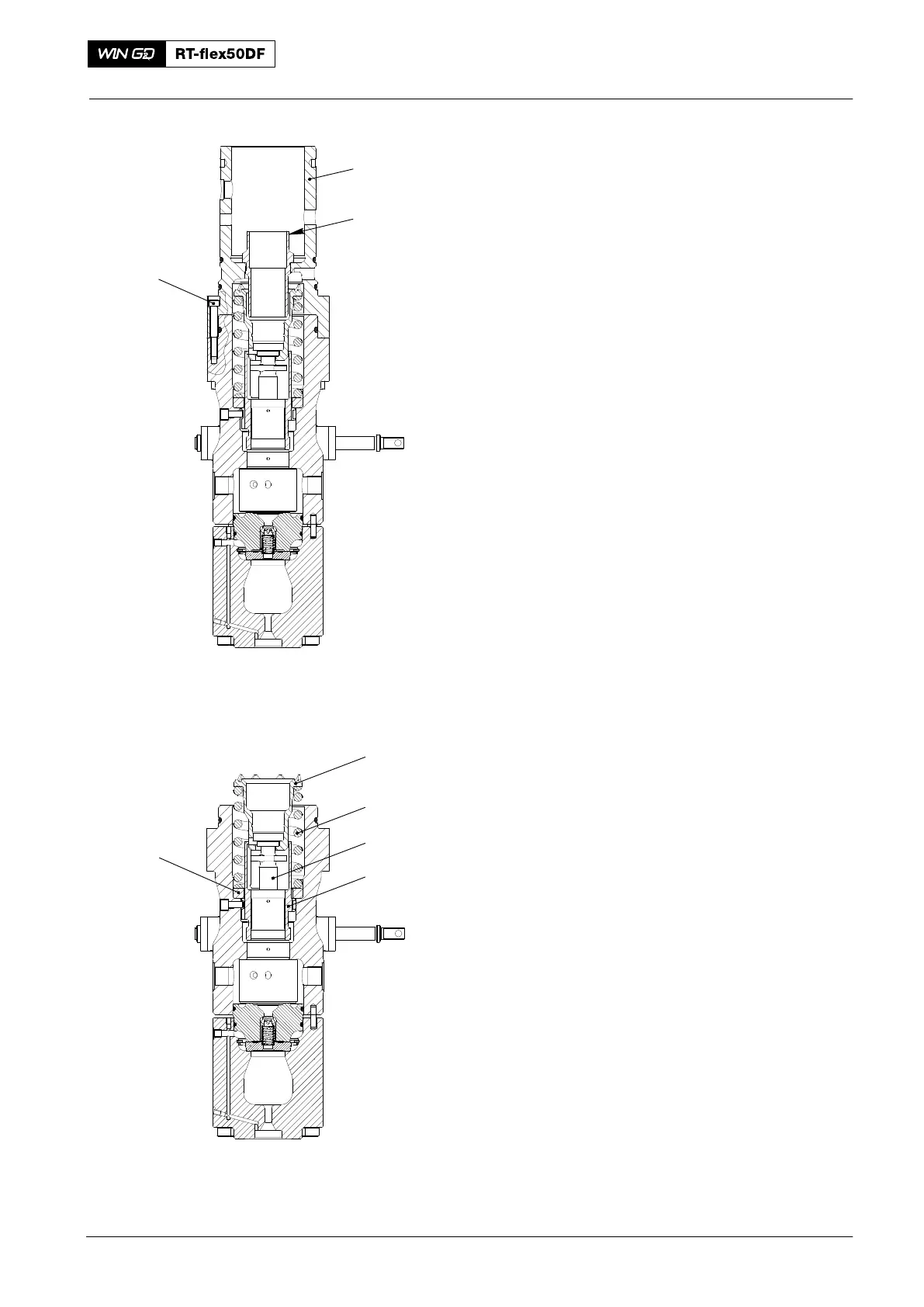
8) Remove the Allen screws (3, Fig. 5).
9) Remove the bottom housing (1) from
top housing.
10) If necessary, replace the bush (2) as
follows:
a) Remove the bush.
b) Apply Loctite No. 648 to the
thread of the bush.
c) Torque the new bush to 200 Nm.
3.3 Toothed Rack Removal
1) Disassemble the bottom spring carrier
(1, Fig. 6) together with the pump
plunger (3).
2) Put the pump plunger (3) in a dry, clean
area to prevent damage.
3) Remove the compression spring (2).
4) Remove regulating sleeve (4) together
with the top spring carrier (5).
Fuel Pump: Removal, Disassemble, Assemble, Installation
2016
013.673/05
Fig. 5
1
2
3
013.674/05
Fig. 6
4
3
2
1
5

Table of Contents