EasyManua.ls Logo

Yamaha 200A - Page 152

Yamaha 200A
281 pages
Print Icon
To Next Page IconTo Next Page
To Next Page IconTo Next Page
To Previous Page IconTo Previous Page
To Previous Page IconTo Previous Page
Loading...
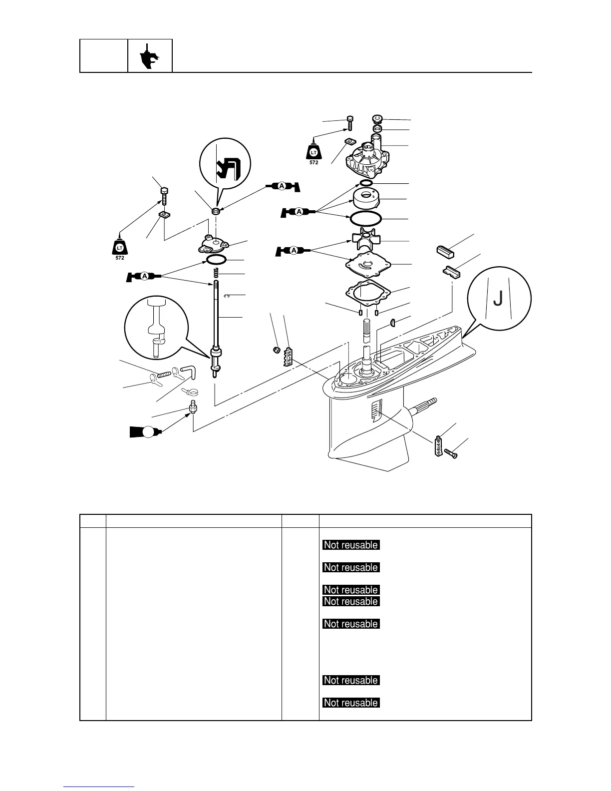
60H5E11
Lower unit
LOWR
11
12
13
14
15
16
17
18
20
19
10
1
4
5
6
3
2
7
24
23
22
21
4
25
26
27
8
9
22
28
29
B
30
31
60h61020
1 Bolt 3 M6 x 20mm
2 Oil seal 1
3 Oil seal housing 1
4 O-ring 1
5 Spring 1
6 Circlip 1
7 Shift rod 1
8 Joint 1
9 Plastic tie 3
10 Hose 1
11 Joint 1
12 Bolt 4 M8 x 45mm
13 Cover 1
14 Seal 1
15 Water pump housing 1
16 O-ring 1
17 Insert cartridge 1
No. Part name Qty Remarks
6-35

Table of Contents

Related product manuals