EasyManua.ls Logo

ABB ACS880-07CLC

ABB ACS880-07CLC
214 pages
To Next Page IconTo Next Page
To Next Page IconTo Next Page
To Previous Page IconTo Previous Page
To Previous Page IconTo Previous Page
Loading...
2×D8D
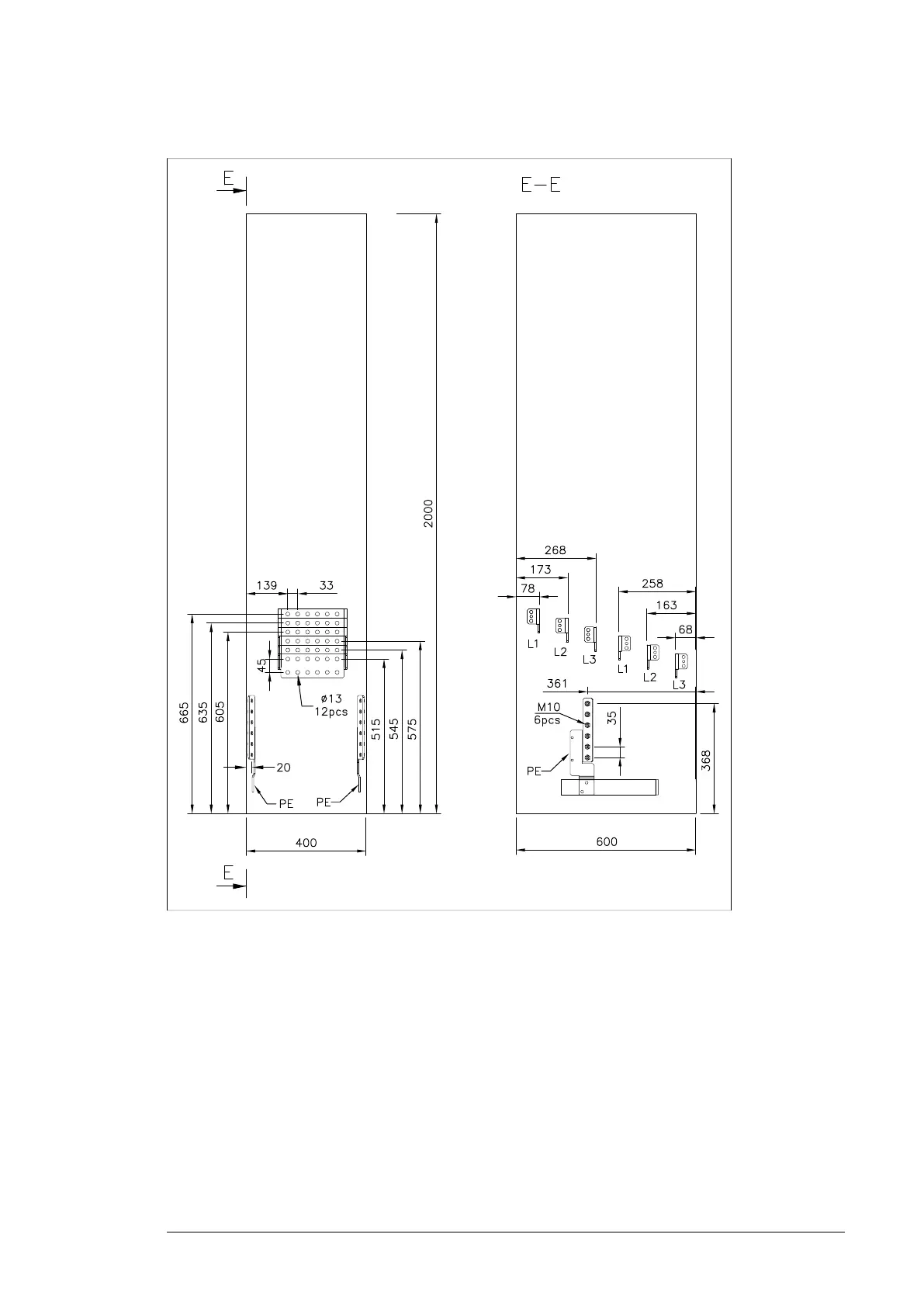
Dimensions 181

Table of Contents

Other manuals for ABB ACS880-07CLC

Related product manuals