EasyManua.ls Logo

Daikin D-BACS - Page 276

Daikin D-BACS
376 pages
Print Icon
To Next Page IconTo Next Page
To Next Page IconTo Next Page
To Previous Page IconTo Previous Page
To Previous Page IconTo Previous Page
Loading...
1.2 Design Precautions 259
Power Proportional Distribution (P.P.D.)
1.2.3 The Reason why VRV Heat Recovery must not be Included
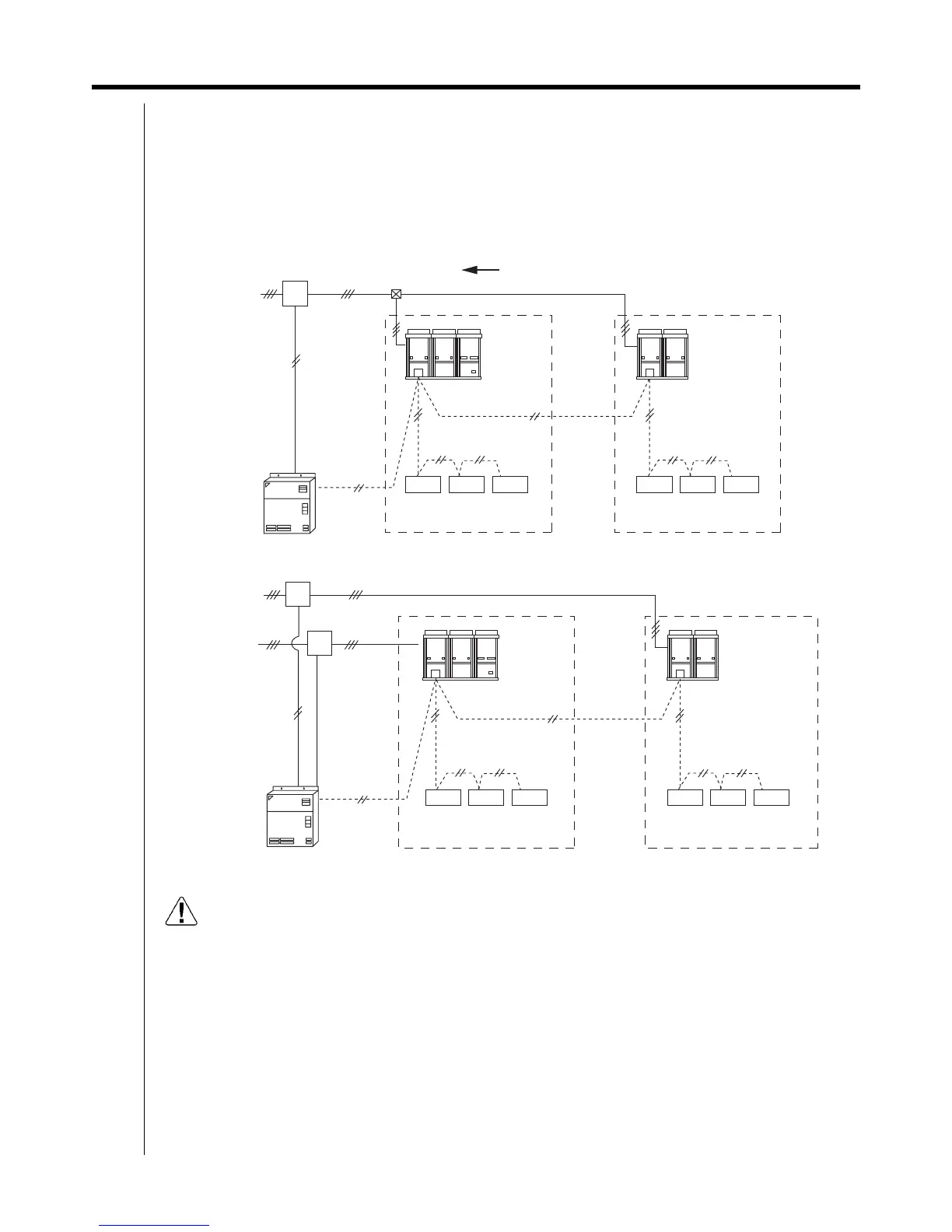
For Heat Recovery outdoor units, the watthour meter must be independently installed.
(1) For heat recovery, there is a case that the power consumption is less than VRV and VRV Plus.
(2) However, if different systems are put on the one meter, the electric power distribution would be calculated by constant
counting, and the calculation result would then more than the actual value on all indoor units.
Therefore, it is necessary to install the watthour meter independently as shown in Fig. 2.
In addition, the power port No. in Address Table must be different from others. (To be set at test run)
Fig.1 Not Recommended : Watthour meter is shared.
Fig.2 Recommended : Heat Recovery and other system watthour meter are separated.
Caution:
It is possible to register to the same electric power group for the following combination.
1. VRV,VRVII (R-22)
2. VRV Heat Recovery (R-22)
3. VRVII,VRVIII (R-410A)
4. VRVII Heat Recovery (R-410A)
When the combination of the above-mentioneds is not observed, a correct power proportional distribution calculation
cannot be done.
kWh meter with pulse output
Not allowed with 1 unit !
WHM
Power source
three-phase
Electric energy
pulse signal line
VRV
Plus
Heat
Recovery
iPU
WHM
WHM
Power source
three-phase
Electric
energy
pulse
signal line
iPU
VRV
Plus
Heat
Recovery
kWh meter with pulse output

Table of Contents

Related product manuals