EasyManua.ls Logo

instagrid ONE - Display Elements

instagrid ONE
436 pages
Print Icon
To Next Page IconTo Next Page
To Next Page IconTo Next Page
To Previous Page IconTo Previous Page
To Previous Page IconTo Previous Page
Loading...
26
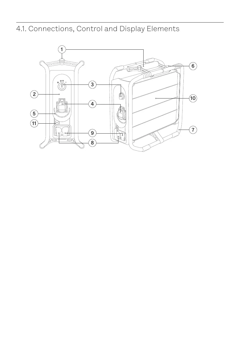
4.1. Connections, Control and Display Elements
10
1
6
7
2
4
5
3
11
8
9
1. Carrying handle
2. End cap, front
3. Rotary switch
4. Output socket CEE 7/X
5. LED display
6. End cap, rear
7. Frame
8. AC charging input (*)
9. Output socket (*)
10. Housing
11. Melting fuse of the charging input
(*) Neutrik powerCON® TRUE1® TOP

Table of Contents

Related product manuals